retour à
>
Roth / TORO
>
Hand operated
>
Lawnmower
>
4-stroke SP
>
416/20826
>
200000001
>
Engine B&S Model 123602-0152-E1
Listes de pièces de rechange pour Toro Roth / TORO Engine B&S Model 123602-0152-E1
Listes de pièces de rechange 1
Listes de pièces de rechange 2
Listes de pièces de rechange 3
Listes de pièces de rechange 4
Listes de pièces de rechange 5
Listes de pièces de rechange 6
Listes de pièces de rechange 7
Listes de pièces de rechange 8
Listes de pièces de rechange 9
Listes de pièces de rechange 10
pos.
description
Numéro de référence
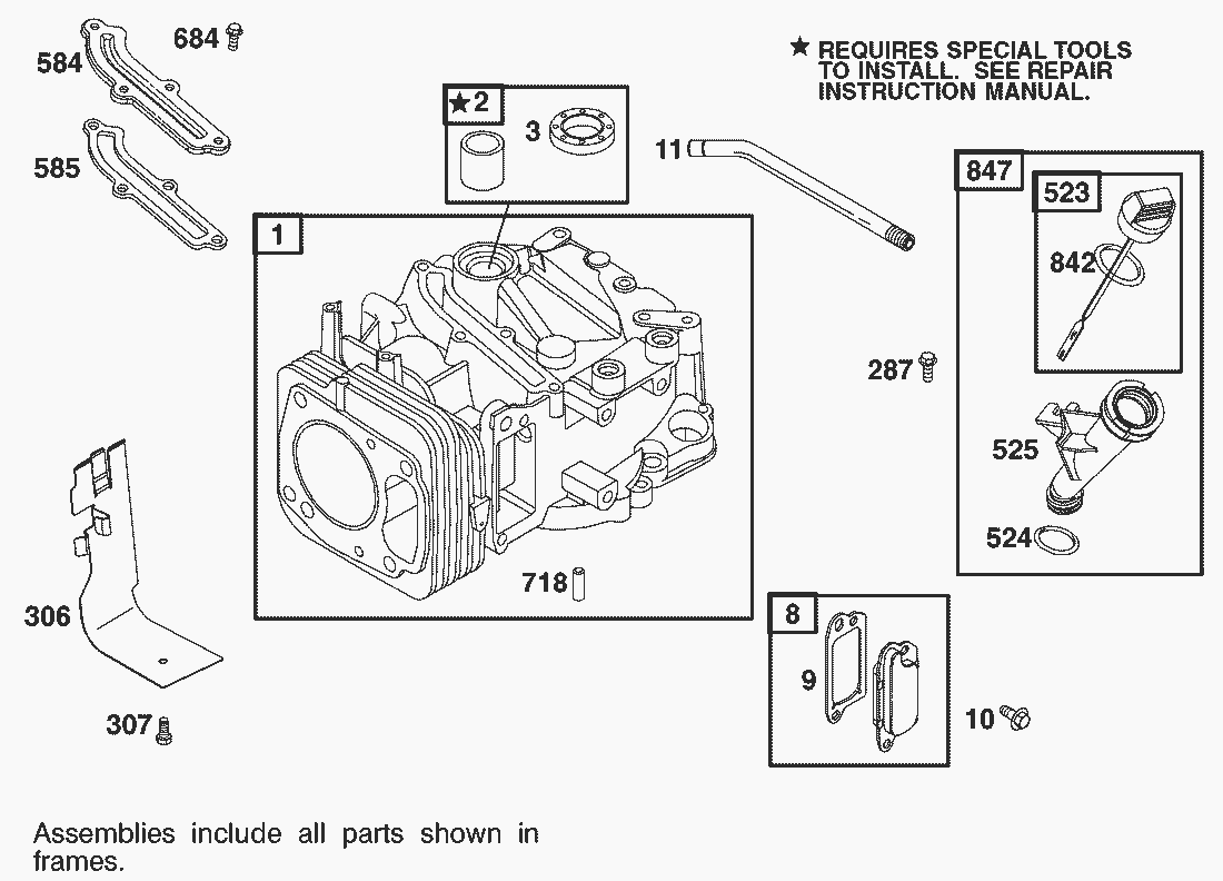
1
Cylinder Assembly
99-0900
2
Bushing
99-0911
3
Seal-Oil
77-9060
8
Breather Assy
77-9260
9
Gasket-Breather
99-0913
10
Screw-Hex.
99-0914
11
Tube-Breather
99-0915
523
Dipstick
100-9146
306
Lever Assembly-Gov.
99-0917
842
Seal-Intake Elbow
77-7270
524
Seal-O Ring
77-7300
307
Screw-Hex.
99-0920
585
Gasket-Breather
77-7410
525
Tube-Oil Filler
99-0906
718
Dowel-Sleeve
77-7600
584
Baffle-Cylinder
99-0922
847
Dipstick Tube ASM
98-9209
684
Screw-Hex.
99-0920
287
Screw-Hex.
99-0927
pos.
description
Numéro de référence
5
Head-Cylinder
99-0929
7
Gasket-Cylinder Head
99-0930
13
Screw-Hex.
99-0931
33
Valve-Exhaust
99-0932
34
Valve-Intake
99-0933
35
Spring-Valve
99-0934
40
Retainer-Valve Spring
99-0935
45
Tappet-Valve
99-0936
155
Plate-Cylinder Head
99-0938
189
Ball-Rocker Arm
99-0939
238
Cap-Valve
99-0940
914
Screw-Rocker Cover
100-9147
337
Plug-Spark
77-7330
383
Wrench-Spark Plug
99-0944
635
Elbow-Spark Plug
77-9190
830
Stud-Rocker Arm
99-0945
619
Screw-Hex.
99-0941
868
Seal-Valve
99-0946
883
Gasket-Exhaust
99-0947
36
Spring-Valve
99-0934
1022
Gasket-Rocker Cover
99-0907
1023
Cover-Rocker
98-9211
1026
Rod-Push
99-0949
1029
Arm-Rocker
99-0950
1034
Guide-Push Rod
99-0951
993
Gasket-Plate
99-6264
51
Gasket-Intake
99-0968
122
Gasket-Intake
99-0978
pos.
description
Numéro de référence
4
Sump-Engine
99-0952
12
Gasket-Crankcase
99-0953
15
Plug-Oil Drain
99-0954
16
Crankshaft
98-9214
24
Key-Flywheel
77-8340
20
Seal-Oil
99-0955
22
Key-Flywheel
99-0957
25
Piston Assy. (Standard)
99-0958
26
Ring Set (Standard)
99-0959
27
Lock-Piston Pin
99-0960
28
Pin-Piston (Standard)
99-0961
29
Rod-Connecting
99-0962
32
Screw-Connecting Rod
99-0963
43
Governor/Oil Slinger
99-0964
46
Gear-Cam
99-0965
146
Key-Timing
99-0966
741
Gear-Timing
99-0967
pos.
description
Numéro de référence
95
Screw-Slotted
99-0969
104
Pin-Float Hinge
99-0970
117
Jet-Main (Std.) Note: 99-1041 Jet-Main(High Altitude) 1
99-0971
708
Seal-Dust
100-5037
125
Carburetor
99-0973
130
Valve-Throttle
99-0974
131
Shaft-Throttle
99-0975
276
Washer-Sealing
100-5038
134
Valve-Float (Includes Seat)
77-8110
163
Gasket-Air Cleaner
99-0976
975
Bowl-Float
99-0977
133
Float-Carburetor
77-8170
365
Screw-Shoulder
99-0972
127
Plug-Welch
100-9107
137
Gasket-Float Bowl
104-7550
pos.
description
Numéro de référence
222
Bracket-Control
100-2891
910
Stud-Stator Mounting
99-1014
202
Link-Governor
99-0981
188
Screw-Control Bracket
100-5031
745
Screw-Hex.
99-0983
474
Alternator
99-1011
356
Wire-Stop
99-1007
334
Screw-Hex.
99-1006
935
Switch-Interlock
100-9109
851
Terminal-Spark Plug
77-9450
333
Armature-Magneto
99-1005
922
Spring-Brake
99-0987
923
Brake Assembly
99-0988
621
Switch-Stop
99-0986
1160
Screw-Hex Head
77-9520
227
Lever Assembly-Gov.
99-0917
404
Washer-Gov. Crank
99-0918
562
Screw-Hex.
99-0921
505
Nut-Hex.
99-0924
615
Fastener
99-0925
616
Crank-Governor
99-0926
209
Spring-Governor
99-0982
1119
Screw-Alternator
104-7551
pos.
description
Numéro de référence
467
Knob-Air Cleaner
100-9108
677
Screw
100-9148
836
Screw-Hex.
94-1674
968
Cover-Air Cleaner
98-9207
445
Filter-Air
98-9212
966
Base-Air Cleaner/Primer
99-0979
613
Screw-Hex.
99-1047
836
Screw-Hex.
99-0999
300
Muffler-Exhaust
99-0995
259
Grommet
99-0984
967
Filter-Air
99-0989
676
Deflector-Muffler
99-1044
832
Guard-Muffler
98-9206
613
Screw-Hex.
99-0941
443
Screw-Hex.
99-0990
976
Primer-Carburetor
99-0991
pos.
description
Numéro de référence
23
Flywheel
99-1001
332
Nut-Flywheel
94-1673
65
Screw-Hex.
99-1002
304
Housing-Blower
99-1003
930
Guard-Rewind
98-9203
1036
Label Kit-Emission
99-1016
1005
Fan-Flywheel
99-1015
326
Screw-Sternantriebê
98-9204
363
Puller-Flywheel
99-1008
592
Nut-Hex.
99-1009
455
Cup-Flywheel
99-1010
305
Screw-Hex.
99-0941
37
Guard-Flywheel
99-0905
78
Screw-Hex.
99-0941
pos.
description
Numéro de référence
55
Housing-Rewind Starter
99-1048
58
Rope-Starter (Cut To Suit)
94-1668
592
Nut (Rewind Starter)
100-9149
60
Grip-Starter Rope
77-8510
1210
Pulley-Rewind Starter
94-1657
1211
Pulley-Rewind Starter
94-1657
456
Retainer-Rewind Starter
94-1659
459
Pawl-Starter
94-1654
597
Screw-Rewind Starter
94-1660
689
Spring-Torsion
94-1655
608
Starter-Rewind
98-9215
pos.
description
Numéro de référence
3
Seal-Oil
99-0912
1095
Valve Overhaul Gasket Set
100-5033
977
Gasket Set-Carburetor
100-5034
358
Engine Overhaul Gasket Set
100-5035
121
Carburetor Kit
100-5036
585
Fastener
99-0925
993
Gasket-Plate
99-0948
pos.
description
Numéro de référence
601
Clamp-Fuel Hose
78-4690
674
Screw-Hex.
98-9202
182
Bracket-Tank Mounting
98-9205
187
Line-Fuel (Cut to Required Length)
99-0992
1059
Screw-Shoulder
99-0993
190
Screw-Hex.
99-0994
670
Spacer-Fuel Tank
99-0997
972
Tank-Fuel
99-1000
Toro
Roth / TORO
Ride-On Mowers
Hand operated
Sweeper
Snowthrower
Vac/Blower
Lawnmower
Grass Baggers
4-stroke SP
498/26638
498/26633
498/26633 B
498/26631 B
496/26639
496/26636
496/26636 B
496/26635 BC
496/26625 BG
495/26637
495/26632
495/26632 B
495/26630 BC
495/26630 BG
495/26620 BG
494/20784
494/20791
493/20783
493/20789
492/20787
492/20778
491/20786
491/20777
491/20328 B
490/20327 B
489/20927 B
489/20926 B
489/20925
488/20920
487/20914
487/20909 BC
487/20905
479
477
469
465/20781
465/20779
464
459/20824
459/20821
459/20821 B
459/20820 BC
458/20823
458/20822
457
456/20808
456/20808 B
456/20807 BC
456/20806 B
455/20803
455/20803 B
455/20802 BC
455/20801 B
453
449
439
437/22173
437/22157
437/22154
437/22154 B
437/22153 BC
434
424
421/20652
417/20832
417/20829
417/20827
416/20831
416/20828
416/20826
200000001
Engine B&S Model 123602-0152-E1
Gearbox Assy. No. 99-6466
Drive Assy.
Rear Bagger Assy.
S.P. Handle and Controls Assy.
HOC and Wheel Assy.
Engine and Blade Assy.
Deck, KickerS and Recycler Plug Assy.
415/20817
415/20811
4-stroke
2-stroke SP
2-stroke
Electric
Battery
Robin
Conditions générales de vente
(C) by motoruf