retour à
AS-Motor
>
AS Enduro
>
AS 27/2 Enduro
>
Gehäuse
Listes de pièces de rechange pour AS Motor AS Enduro Gehäuse
pos.
description
Numéro de référence
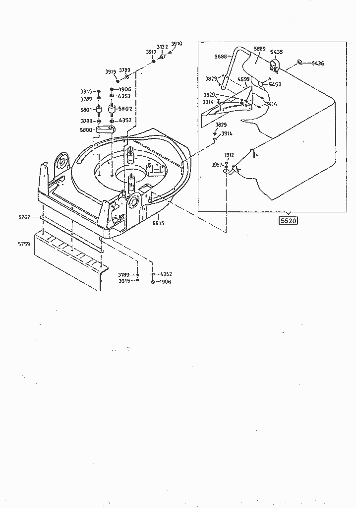
1906
SECHSKANTMUTTER
E01906
1912
SECHSKANTMUTTER
E01912
3132
GUMMIELEMENT KOMPL.
E03132
3414
ZYLINDERSCHRAUBE
E03414
3789
ZAHNSCHEIBE
E03789
3829
SECHSKANTMUTTER
E03829
3910
6-kt.Schraube
E03910
3914
SCHEIBE
E03914
3915
SECHSKANTMUTTER
E03915
3917
Sechskantmutter
E03917
3957
Scheibe
E03957
4352
ZAHNSCHEIBE
E04352
4699
ZUSATZBLECH
E04699
5435
ROHRBÜGELHALTER
E05435
5436
KNOPFHÜLSE
E05436
5453
KNOPFBOLZEN
E05453
5520
SCHUTZBÜGEL VOLLST. AS26, 27, 28
E05520
5688
SCHUTZBÜGEL AS26, 27, 28
E05688
5689
SCHUTZTUCH AS26, 27, 28
E05689
5759
SCHÜRZE AS26, 27, 28
E05759
5762
Versteifungsblech 492 lg.
E05762
5800
ADAPTER
E05800
5801
MOTORLAGERUNG
E05801
5802
MOTORLAGERUNG
E05802
5815
MESSERHAUBE AS27, AS28
E05815
AS Motor
AS Batterierasenmäher
AS 45 Ausputzmäher
AS 46 Variomat
AS 45 Universal
AS 53 Standard
AS 53 Allrad
AS 55 Heckauswurf
AS 550 Heckauswurf
AS Allmäher
AS Enduro
AS 22 Enduro
AS 22/3 Enduro
AS 27/2 Enduro
Gehäuse
Antriebsachse
Antriebsblock
Grundmotor
Luftfilter / Starter
Messer
Holm
Vorderrad
Vergaser
HRB
AS 27/3 Enduro
AS 28 Enduro
AS 28/3 Enduro
AS 28/4 Enduro
AS 65 2T Enduro
AS 65 4T Enduro
AS 65 4TH Enduro
AS 73 vs Enduro
AS 73/2 vs Enduro
AS Schlegelmäher
AS Mulchmeister
AS Aufsitzmäher
Samix Gartenhäcksler
AS Wildkraut-Hex
Verschleissteile
Conditions générales de vente
(C) by motoruf