retour à
>
Tondeuse
>
Essence
>
Tondeuse sans moteur jusqu'à 42 cm
>
Moto-Verte
>
42 Pro
>
42 Pro
Listes de pièces de rechange pour Wolf Tondeuse 42 Pro
pos.
description
Numéro de référence
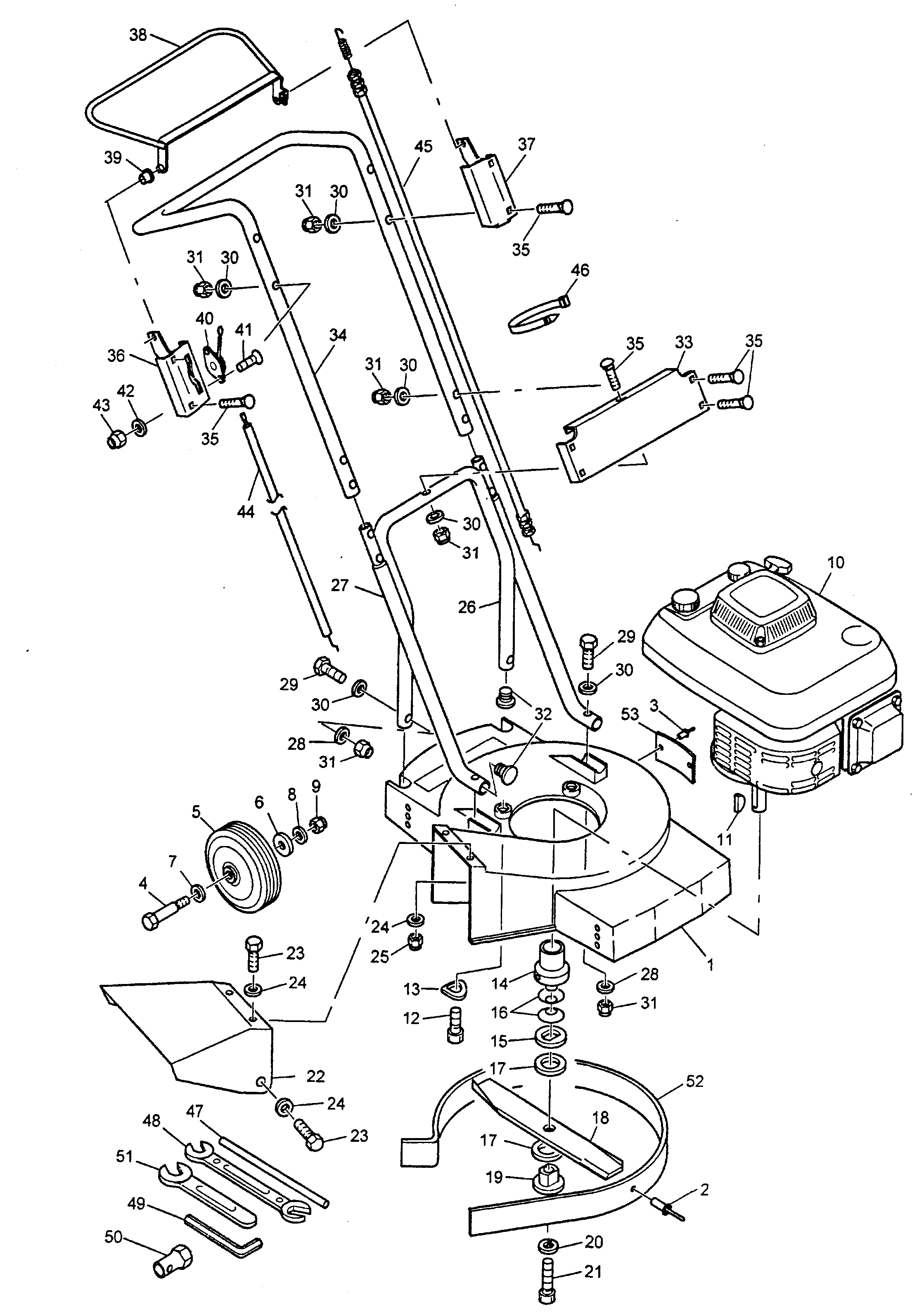
1
Boîtier
6060 300
2
Rivet
6060 100
3
Rivet
6060 101
4
Goujon de roue
6060 102
5
Roue
6060 040
6
Rondelle de couverture
6060 103
7
Rondelle de couverture
6060 104
8
Rondelle
0017 292
9
Écrou
0016 316
10
Moteur
2096 055
11
Rondelle élastique
0029 055
12
Vis cylindrique
6060 105
13
Washer
0017 830
14
Flasque à lame
6060 120
15
Rondelle
6060 106
16
Rondelle belleville
6060 107
17
Garniture à friction
6060 121
18
Porte-lame
6060 400
19
Plateau
6060 108
20
Rondelle grower
0017 984
21
Vis cylindrique
6060 109
22
Butoir en tôle
6060 301
23
Vis
0010 125
24
Rondelle
0017 123
25
Écrou 6 pans
0016 312
26
Étrier d? appui
6060 122
27
Longeron - partie inférieure
6060 021
28
Rondelle
0017 121
29
Vis
0010 311
30
Rondelle
6060 110
31
Écrou
0016 311
32
Bouchon
6060 310
33
Tôle
6060 124
34
Longeron - partie supérieure
6060 020
35
Vis à tête bombrée
6060 111
36
Tôle droite
6060 125
37
Tôle gauche
6060 126
38
Étrier
6060 127
39
Douille
6060 128
40
Manette des gaz
6060 129
41
Vis
6060 112
42
Rondelle
0017 122
43
Écrou 6 pans
0016 310
44
Câble (gaz)
6060 130
45
Câble (arrêt lame)
6060 131
46
Attache pour câble
6060 227
47
Barre d? acier ronde
6060 132
48
Clef à fourche double
6060 140
49
Clef Allen
6060 141
50
Clef à bougie
6060 142
51
Clef à fourche
6060 143
52
Bague d? acier
6060 133
53
Tôle de dégagement
6060 134
Wolf
Appareils à main
Cisailles à haie
Ciseaux universels
Cisailles à gazon à main
Coupe-branche
Cisailles
Soins des arbres
Systèmes d'éclairage
Taille-haie sur accu
Broyeur
Scies
Coupe-bordure
Tondeuse manuelle
Chariot épandeur / Portax
Chariot porte-tuyaux
Scarificateur/ ventilateur / aérateur
Tondeuse
Accu
Essence
Tondeuse sans moteur jusqu'à 42 cm
series 2
series 4
series 6
Premio
Power Edition
Esprit
Moto-Verte
42 Pro
Fiche de données
42 Pro
FC 150 V
Divers
Compact Plus
Tondeuse sans moteurplus de 43 cm
Entraînement jusqu'à 42 cm
Entraînement plus de 43 cm
Démarreur électrique / Touch&Mow
Électrique
Tondeuse à siège
Moteurs à essence
Accessoires
Conditions générales de vente
(C) by motoruf