retour à
>
Tondeuse
>
Électrique
>
Tondeuse sans moteur40 cm
>
series 6
>
6.40 E
>
Capot, moteur, lame
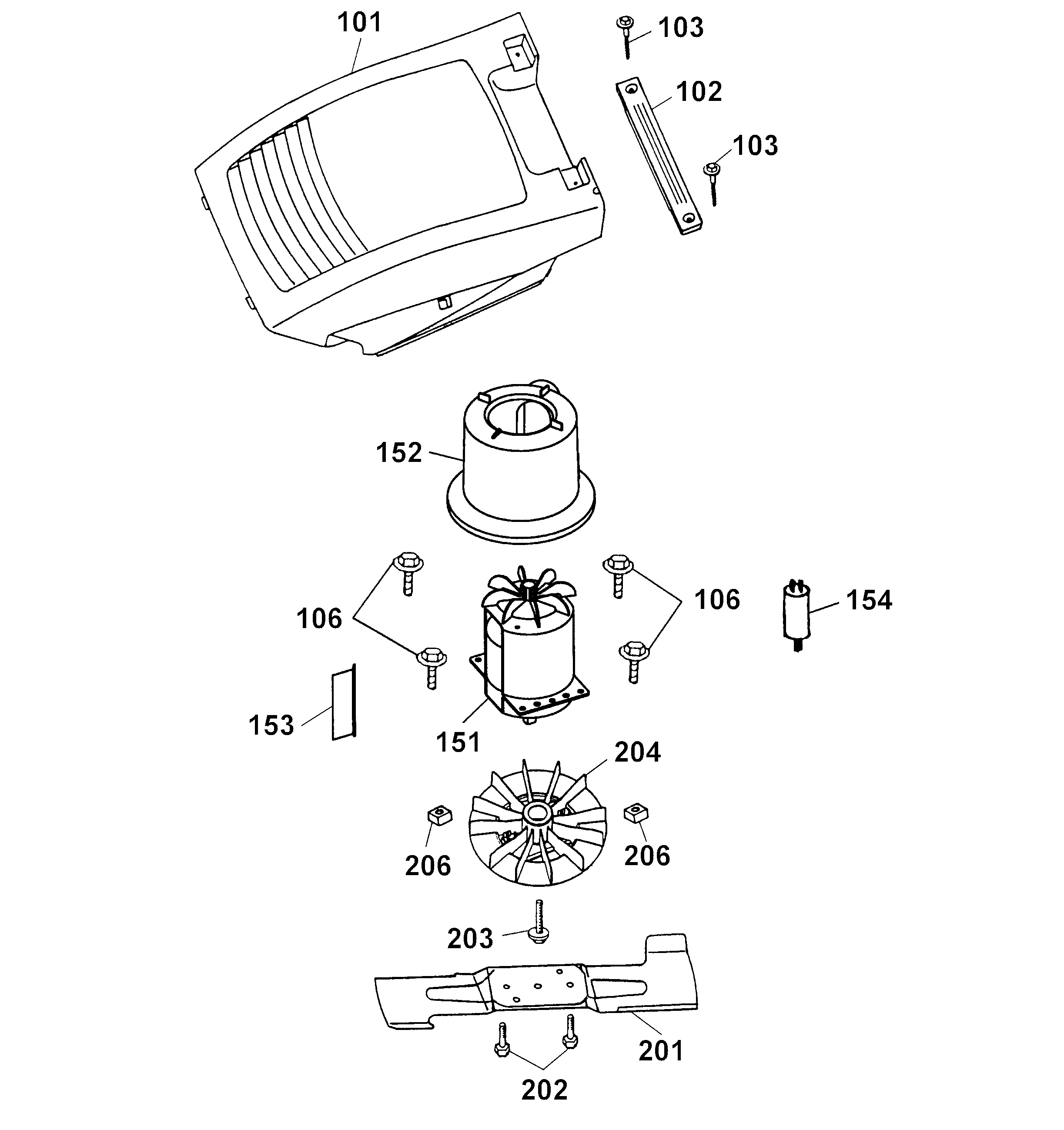
Listes de pièces de rechange pour Wolf Tondeuse Capot, moteur, lame
pos.
description
Numéro de référence
101
cover
4961 301
102
Poignée
4961 303
103
Vis
0012 639
106
Vis autotaraudeuse
0012 618
151
Moteur
1141 080
152
Capot de guidage d? air
4961 326
153
Feuille de guidage d'air
1141 300
154
Condensateur
1133 030
201
Lame
4961 095
202
Vis hexagonale
0010 385
203
Vis hexagonale
0010 403
204
Ventilateur
4961 036
206
Écrou carré
0016 409
Wolf
Appareils à main
Cisailles à haie
Ciseaux universels
Cisailles à gazon à main
Coupe-branche
Cisailles
Soins des arbres
Systèmes d'éclairage
Taille-haie sur accu
Broyeur
Scies
Coupe-bordure
Tondeuse manuelle
Chariot épandeur / Portax
Chariot porte-tuyaux
Scarificateur/ ventilateur / aérateur
Tondeuse
Accu
Essence
Électrique
Tondeuse sans moteurjusqu'à 38 cm
Tondeuse sans moteur40 cm
series 2
series 4
series 6
6.42 E
6.42 E
6.42 E
6.40 E
6.40 E
Fiche de données
Châssis
Axe, roues, réglage de hauteur
Poignée, interrupteur
Capot, moteur, lame
Sac récolteur Premio
MK 40
6.40 E
Concept
Premio
Power Edition
Esprit
Divers
Compact Plus
Entraînement
Tondeuse à siège
Moteurs à essence
Accessoires
Conditions générales de vente
(C) by motoruf