retour à
>
Tondeuse
>
Électrique
>
Tondeuse sans moteur40 cm
>
Divers
>
WGI 40 E
>
Capot, moteur, lame
Listes de pièces de rechange pour Wolf Tondeuse Capot, moteur, lame
pos.
description
Numéro de référence
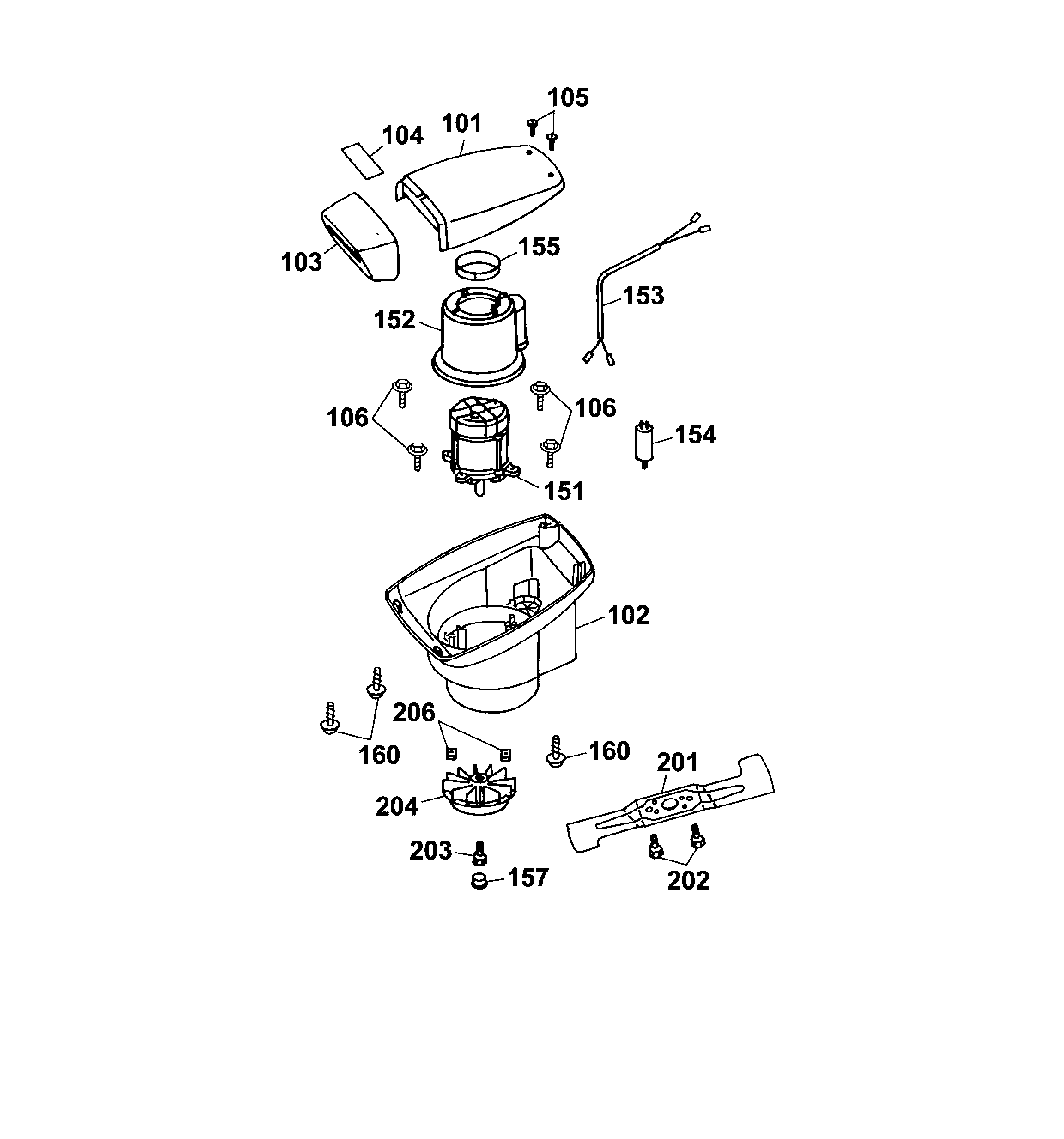
101
Partie supérieure
4317 301
102
Partie inférieure
4620 300
103
Front Part
4317 302
104
Étiquette
4028 208
105
Vis
0012 625
106
Vis
0012 886
151
Moteur
1140 065
152
Tuyau d'air
4961 306
153
Câble de connexion
3567 214
154
Condensateur
1133 040
155
Tronçon de tuyau
4317 305
157
Bouchon
4317 308
160
Vis
0012 641
201
Lame
4001 095
202
Vis hexagonale
0010 385
203
Vis hexagonale
0010 403
204
Ventilateur complet
4317 016
206
Écrou carré
0016 409
Wolf
Appareils à main
Cisailles à haie
Ciseaux universels
Cisailles à gazon à main
Coupe-branche
Cisailles
Soins des arbres
Systèmes d'éclairage
Taille-haie sur accu
Broyeur
Scies
Coupe-bordure
Tondeuse manuelle
Chariot épandeur / Portax
Chariot porte-tuyaux
Scarificateur/ ventilateur / aérateur
Tondeuse
Accu
Essence
Électrique
Tondeuse sans moteurjusqu'à 38 cm
Tondeuse sans moteur40 cm
series 2
series 4
series 6
Concept
Premio
Power Edition
Esprit
Divers
HB 40 E
WGI 40 E
Fiche de données
Châssis
Axe, roues, réglage de hauteur
Tringles de poignée cpl.
Capot, moteur, lame
Panier récolteur Premio
HB 42 E
40 E
Compact Plus
Entraînement
Tondeuse à siège
Moteurs à essence
Accessoires
Conditions générales de vente
(C) by motoruf