retour à
>
Moteurs à essence
>
Tecumseh
>
Prisma
>
Prisma 156
>
Carburateur
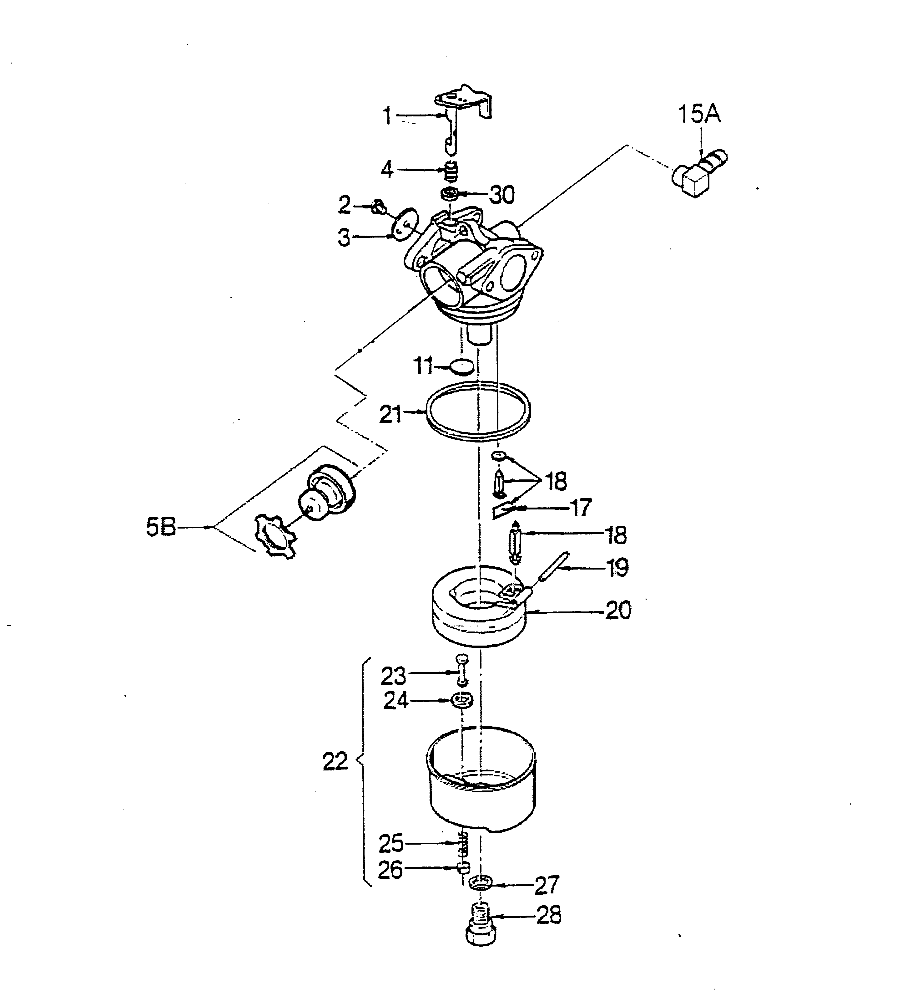
Listes de pièces de rechange pour Wolf Moteurs à essence Carburateur
pos.
description
Numéro de référence
1
Axe de clapet de réglage complet
2087 450
2
Vis de clapet de réglage
2087 452
3
Papillon des gaz
2037 138
4
Ressort de rappel
2034 139
5B
Primer complet
2034 020
11
Tampon borgne
2087 454
15A
Pièce de connexion
2087 463
17
Support pour aiguille de flotteur
2087 456
18
Aiguille de flotteur complète
2087 455
19
Axe de flotteur
2087 458
20
Flotteur
2087 457
21
Joint
2087 462
22
Cuve de flotteur complète
2034 307
23
Tampon
1032 451
24
Joint
1032 449
25
Ressort
1032 447
26
Bras
1032 446
27
Joint
2034 142
28
Gicleur principal
2031 447
30
Feutre graisseur
1038 414
32
Nécessaire de réparation
2031 040
Wolf
Appareils à main
Cisailles à haie
Ciseaux universels
Cisailles à gazon à main
Coupe-branche
Cisailles
Soins des arbres
Systèmes d'éclairage
Taille-haie sur accu
Broyeur
Scies
Coupe-bordure
Tondeuse manuelle
Chariot épandeur / Portax
Chariot porte-tuyaux
Scarificateur/ ventilateur / aérateur
Tondeuse
Tondeuse à siège
Moteurs à essence
Tecumseh
Prisma
Prisma 37
Prisma 156
Moteur
Carburateur
Prisma 156
Prisma 156
Prisma 37 Fixspeed
Centura
Futura
Synergy
Vantage
VLV
Briggs & Stratton
Honda
Kawasaki
Accessoires
Conditions générales de vente
(C) by motoruf