retour à
>
Tondeuse
>
Électrique
>
Tondeuse sans moteurjusqu'à 38 cm
>
Premio
>
Premio 32 E
>
Châssis
Listes de pièces de rechange pour Wolf Tondeuse Châssis
pos.
description
Numéro de référence
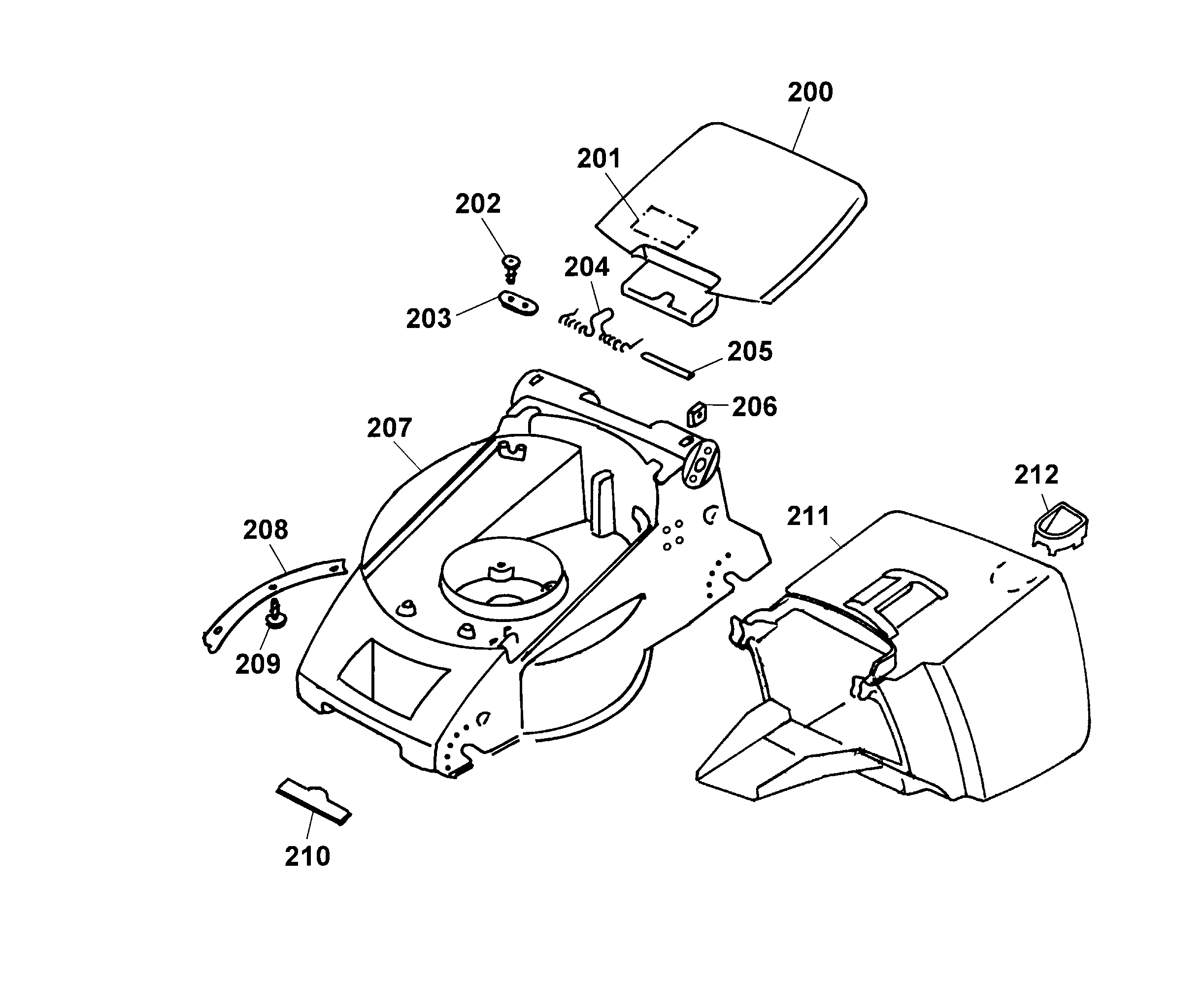
200
Clapet arrière
4932 303
201
Étiquette sécurité / Pictogramme
0051 244
202
Vis
0012 625
203
Collier
4557 208
204
Ressort en spirale
4936 217
205
Tige ronde
4932 208
206
Écrou carré
0016 409
207
Châssis
4932 390
208
Renfort
4932 112
209
Vis
0012 899
210
Marque WOLF-Garten
0051 115
211
Bac récolteur
4932 066
212
Indicateur de niveau
4936 061
Wolf
Appareils à main
Cisailles à haie
Ciseaux universels
Cisailles à gazon à main
Coupe-branche
Cisailles
Soins des arbres
Systèmes d'éclairage
Taille-haie sur accu
Broyeur
Scies
Coupe-bordure
Tondeuse manuelle
Chariot épandeur / Portax
Chariot porte-tuyaux
Scarificateur/ ventilateur / aérateur
Tondeuse
Accu
Essence
Électrique
Tondeuse sans moteurjusqu'à 38 cm
series 2
series 4
series 6
Picco
Premio
Premio 32 E
Premio 32 E
Premio 36 E
NP
Premio 36 E
Premio 32 E
Premio 32 E
Fiche de données
Châssis
Axe, roues, réglage de hauteur
Poignée, interrupteur
Capot, moteur, lame
Premio 36 E
Premio 36 E
Premio 34 E
Premio 34 E
Power Edition
Esprit
Compact Plus
Divers
Tondeuse sans moteur40 cm
Entraînement
Tondeuse à siège
Moteurs à essence
Accessoires
Conditions générales de vente
(C) by motoruf