retour à
>
Tondeuse
>
Essence
>
Tondeuse sans moteur jusqu'à 42 cm
>
Compact Plus
>
Compact plus 40 B
>
Chassis
Listes de pièces de rechange pour Wolf Tondeuse Chassis
pos.
description
Numéro de référence
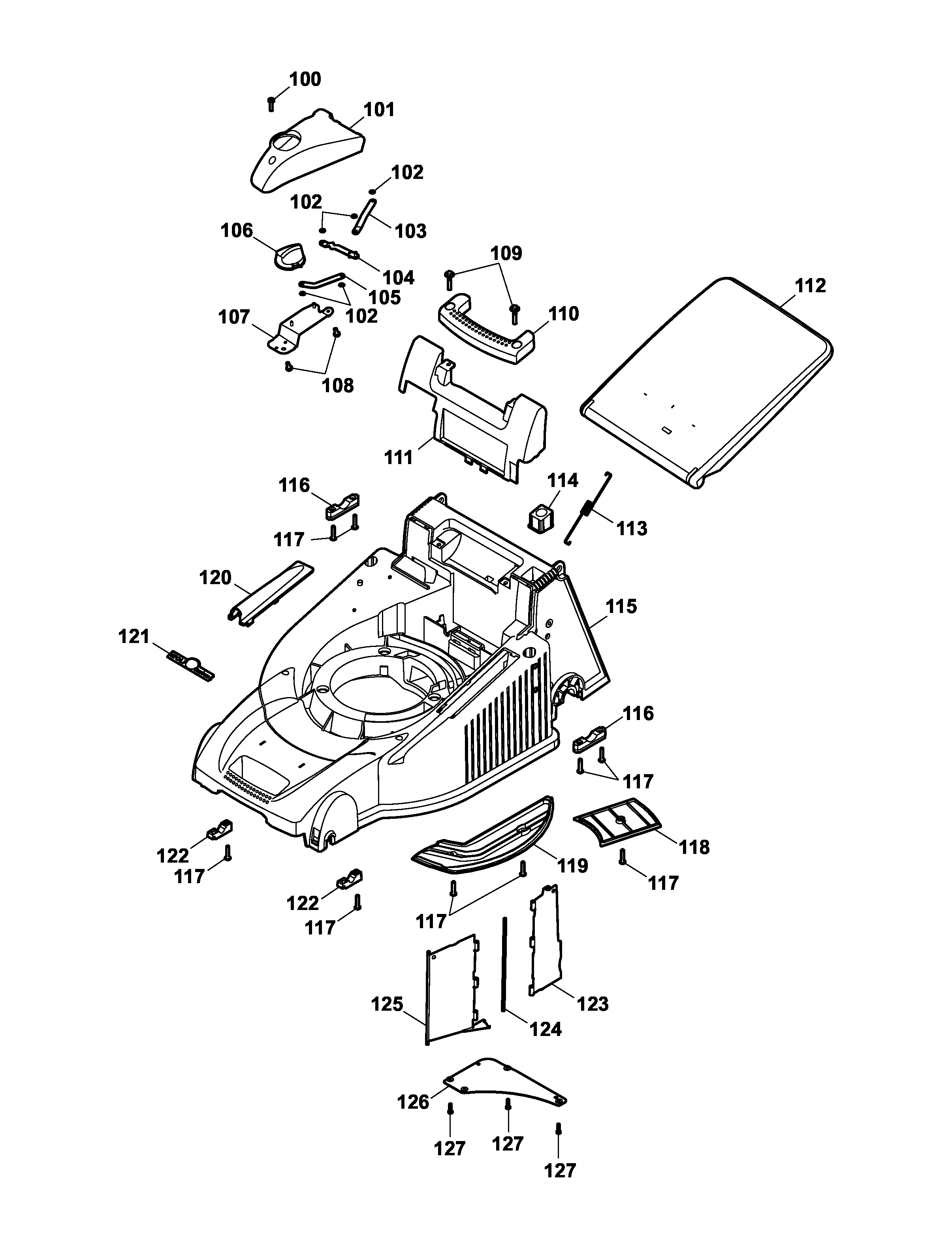
100
Vis autotaraudeuse
0012 613
101
Console cover
4021 306
102
Rondelle dentée
0020 654
103
Coupleur 1
4021 136
104
Console bracket
4021 130
105
Coupleur 2
4021 134
106
Operation Button
4021 305
107
Console
4021 114
108
Vis autotaraudeuse
0012 606
109
Vis
0012 643
110
Poignée de portage arrière
4601 304
111
Habillage de châssis
4021 310
112
Clapet de protection
4628 322
113
Ressort de traction
4961 108
114
Bouton
4961 304
115
Châssis
4021 300
116
Coquille d? appui arrière
4961 313
117
Vis
0012 631
118
Cache-courroie
4961 324
119
Recouvrement de canal d? air
4001 311
120
Air conduction
4601 315
121
Marque WOLF-Garten
0051 115
122
Bride de fixation de soutien avant
4961 312
123
Clapet 2
4021 108
124
Hinge rod
4021 107
125
Clapet 1
4021 100
126
Support en tôle
4021 113
127
Vis
0012 625
Wolf
Appareils à main
Cisailles à haie
Ciseaux universels
Cisailles à gazon à main
Coupe-branche
Cisailles
Soins des arbres
Systèmes d'éclairage
Taille-haie sur accu
Broyeur
Scies
Coupe-bordure
Tondeuse manuelle
Chariot épandeur / Portax
Chariot porte-tuyaux
Scarificateur/ ventilateur / aérateur
Tondeuse
Accu
Essence
Tondeuse sans moteur jusqu'à 42 cm
series 2
series 4
series 6
Premio
Power Edition
Esprit
Moto-Verte
Divers
Compact Plus
Compact plus 40 B
Data Sheet
Chassis
Axle, Wheels
Handlebar compl.
Motor, Blade
grass collector
Compact plus Power Edition 40 H
Tondeuse sans moteurplus de 43 cm
Entraînement jusqu'à 42 cm
Entraînement plus de 43 cm
Démarreur électrique / Touch&Mow
Électrique
Tondeuse à siège
Moteurs à essence
Accessoires
Conditions générales de vente
(C) by motoruf