retour à
>
Tondeuse
>
Essence
>
Tondeuse sans moteurplus de 43 cm
>
series 4
>
4.46 B
>
XE, XTE 35/40-50/55
>
Filtre XTE 35-40
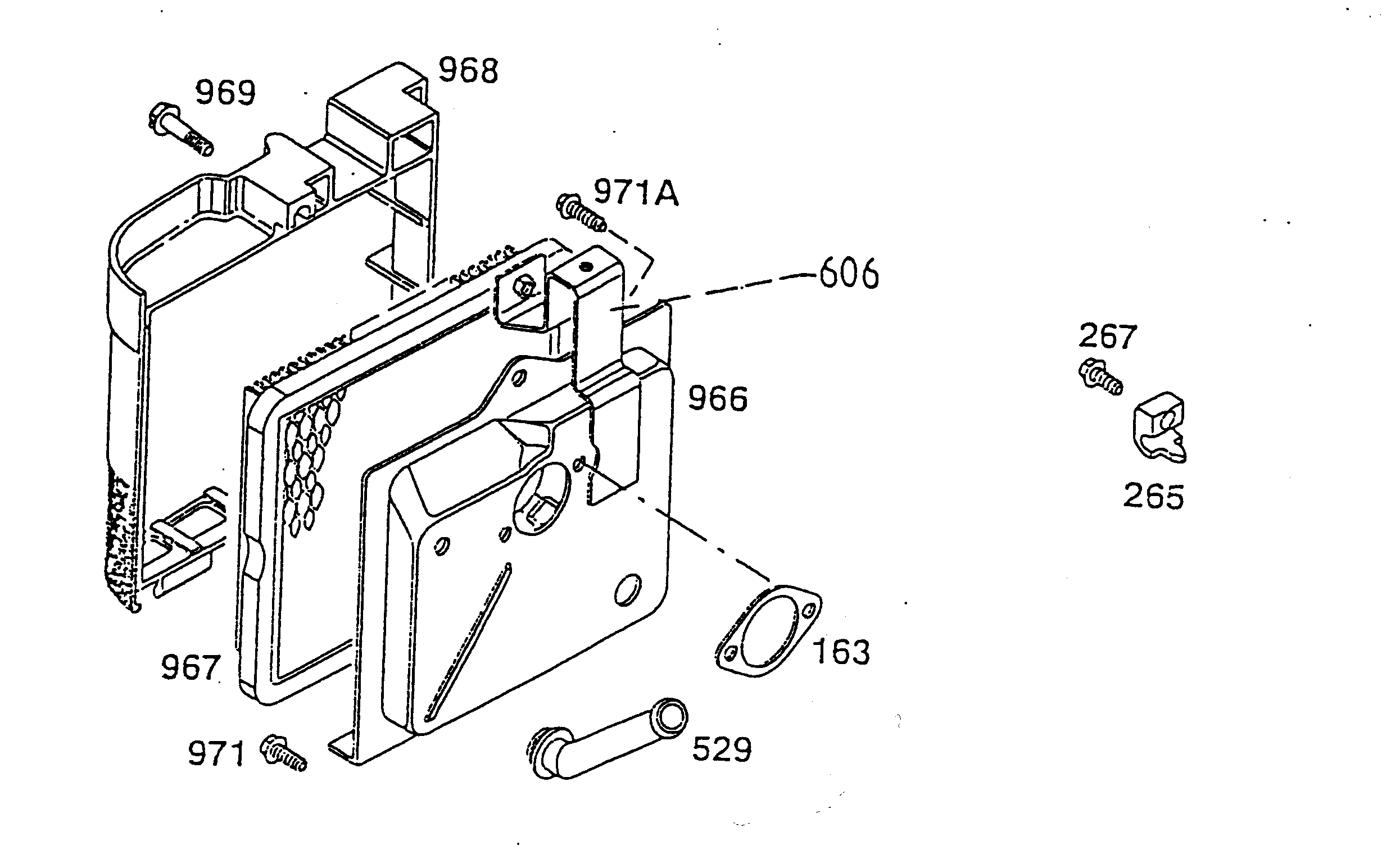
Listes de pièces de rechange pour Wolf Tondeuse Filtre XTE 35-40
pos.
description
Numéro de référence
163
Clapet de starter
2059 220
265
Collier
2063 312
267
Vis
2063 313
606
Support de câble
2059 404
966
Caisson de filtre à air
2059 405
967
Élément filtrant
2063 408
968
Couvercle de filtre à air
2059 406
969
Vis
2003 421
971
Vis
2003 423
Wolf
Appareils à main
Cisailles à haie
Ciseaux universels
Cisailles à gazon à main
Coupe-branche
Cisailles
Soins des arbres
Systèmes d'éclairage
Taille-haie sur accu
Broyeur
Scies
Coupe-bordure
Tondeuse manuelle
Chariot épandeur / Portax
Chariot porte-tuyaux
Scarificateur/ ventilateur / aérateur
Tondeuse
Accu
Essence
Tondeuse sans moteur jusqu'à 42 cm
Tondeuse sans moteurplus de 43 cm
series 2
series 4
4.46 B
Fiche de données
Poignée, haut/ arrête-lame
4.46 B
XE, XTE, XTL 35/40/45/50-I/C-ES
XE, XTE 35/40-50/55
Carter de vilebrequin
Piston, soupapes, vilebrequin
Carter d'huile
Carburateur, Régulation
Filtre XTE 35-40
Filtre XTE 50-55
Volant, capot de ventilateur
Réservoir, capot XTE 35-40
Réservoir, capot XE 50-55
Silencieux, bobine XTE 35-40
Silencieux, bobine XE 50-55
Starter
series 6
Concept
Premio
Esprit
Divers
Entraînement jusqu'à 42 cm
Entraînement plus de 43 cm
Démarreur électrique / Touch&Mow
Électrique
Tondeuse à siège
Moteurs à essence
Accessoires
Conditions générales de vente
(C) by motoruf