retour à
>
Tondeuse
>
Essence
>
Entraînement plus de 43 cm
>
Divers
>
WGI 46 BA
>
Lame
Listes de pièces de rechange pour Wolf Tondeuse Lame
pos.
description
Numéro de référence
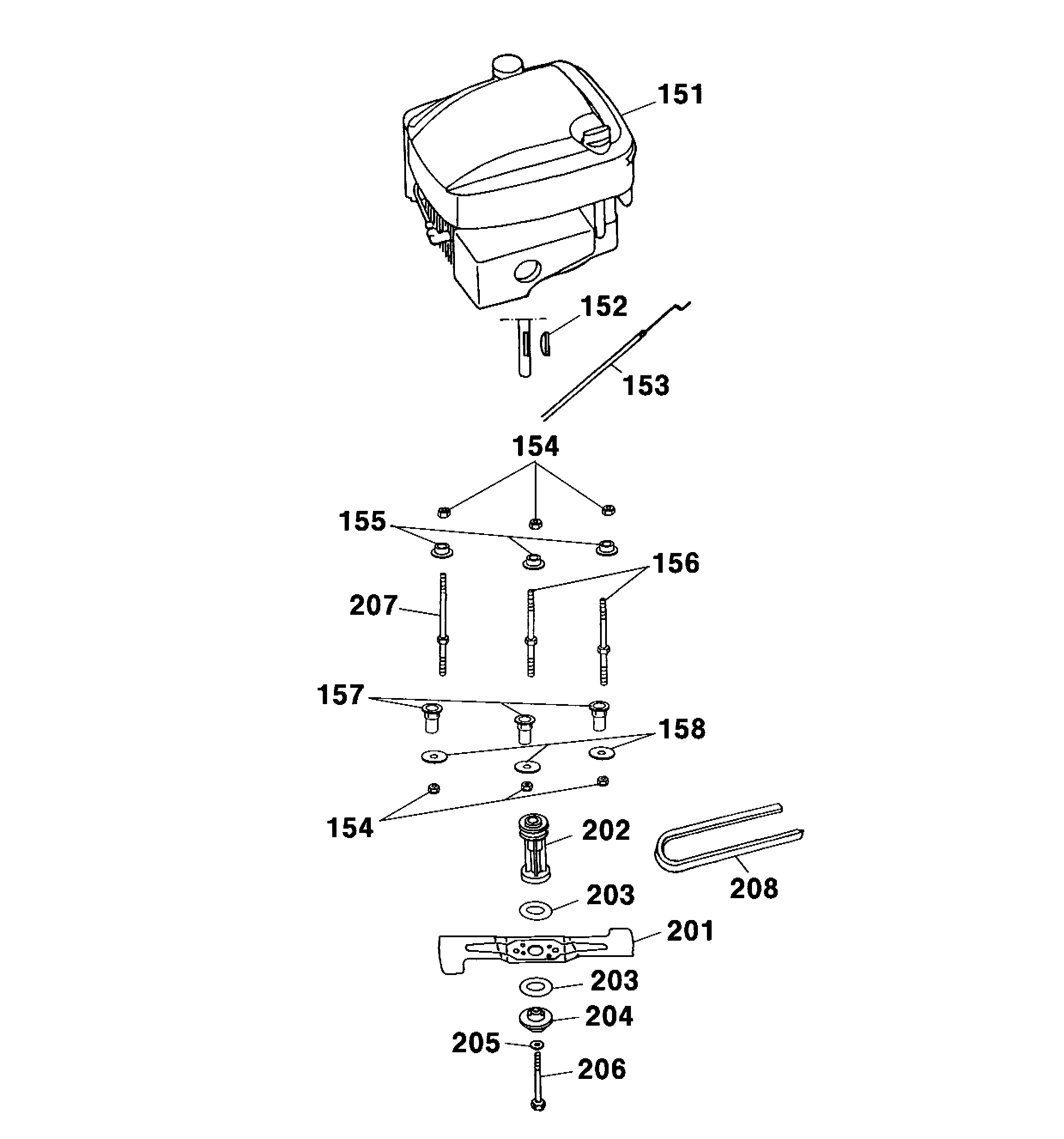
151
Motor
2066 075
152
Rondelle élastique
0029 130
153
Câble frein
4005 058
154
Écrou 6 pans
0016 312
155
Douille pour moteur
4001 172
156
Goujon dormant court
4001 170
157
Douille intercalaire
4601 312
158
Rondelle
0017 111
201
Lame
4601 095
202
Poulie motrice
4605 402
203
coupling
6450 403
204
Disque d? embrayage
4840 402
205
Rondelle bombée
0017 105
206
Vis hexagonale
0010 264
207
Goujon dormant grande taille
4001 171
208
Courroie trapézoïdale
0039 218
Wolf
Appareils à main
Cisailles à haie
Ciseaux universels
Cisailles à gazon à main
Coupe-branche
Cisailles
Soins des arbres
Systèmes d'éclairage
Taille-haie sur accu
Broyeur
Scies
Coupe-bordure
Tondeuse manuelle
Chariot épandeur / Portax
Chariot porte-tuyaux
Scarificateur/ ventilateur / aérateur
Tondeuse
Accu
Essence
Tondeuse sans moteur jusqu'à 42 cm
Tondeuse sans moteurplus de 43 cm
Entraînement jusqu'à 42 cm
Entraînement plus de 43 cm
series 2
series 4
series 6
Moto-Verte
Concept
Premio
Power Edition
Esprit
Divers
Exclusiv 46 BA
47 Mulch BA
B 46 TBA
WGI 46 BA
Fiche de données
Châssis
Axe, roues, réglage de hauteur
Poignée cpl.
Lame
Panier récolteur Premio
XM 45
B 46 TBA
HBM 46 BA
HBM 46 BA
B 46 TBA
B 46 TBA
B 46 TBA
B 46 TBA
Démarreur électrique / Touch&Mow
Électrique
Tondeuse à siège
Moteurs à essence
Accessoires
Conditions générales de vente
(C) by motoruf