retour à
>
Moteurs à essence
>
Tecumseh
>
Synergy
>
Synergy 38 ES
>
Moteur (2)
Listes de pièces de rechange pour Wolf Moteurs à essence Moteur (2)
pos.
description
Numéro de référence
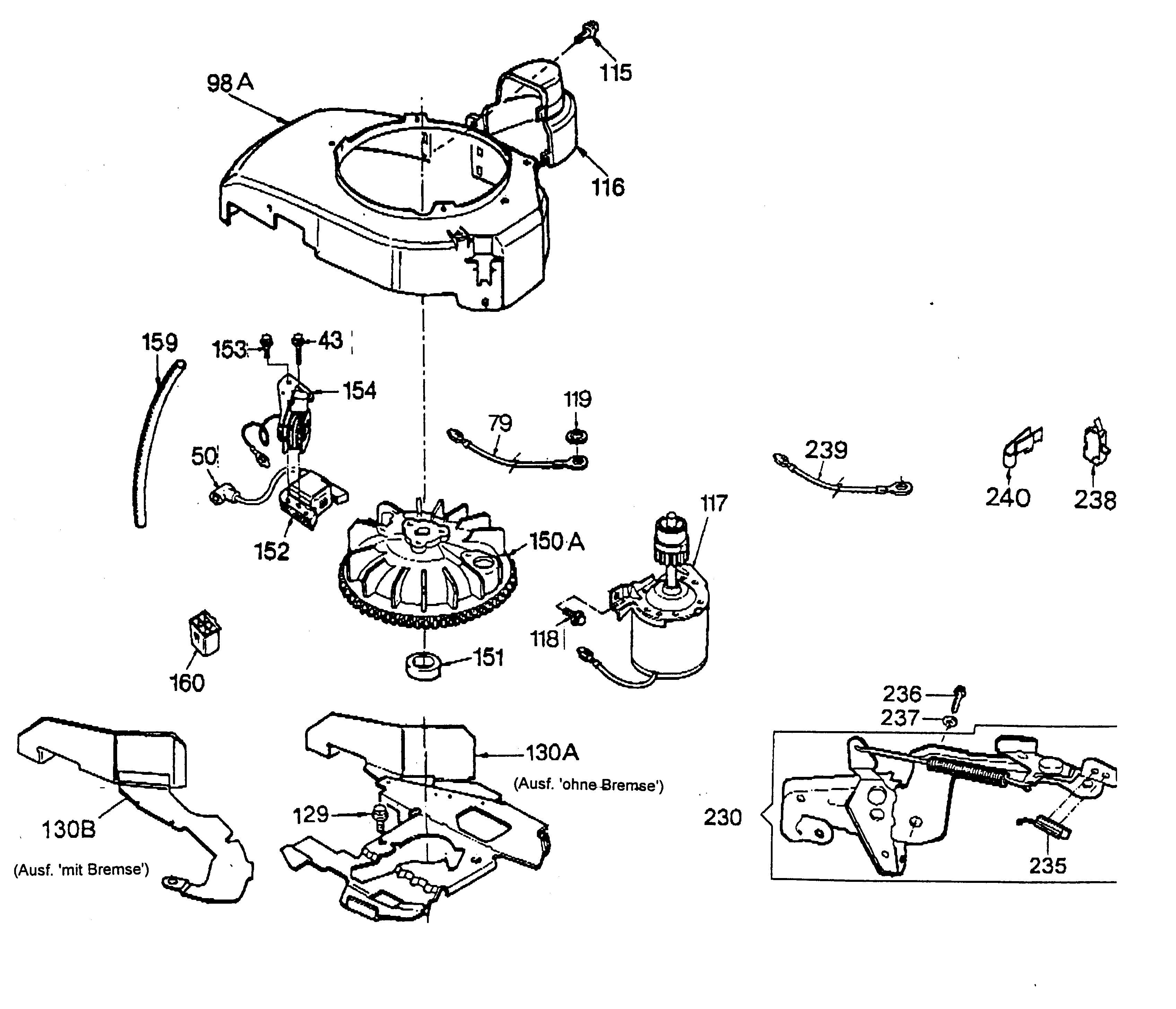
98A
Logement de ventilateur
2033 068
43
Vis
2085 222
50
Capuchon m de bougie
2085 301
79
Câble court-circuit
2033 350
115
Vis
2026 215
116
Capot de starter
2033 360
117
Motor starter
2082 052
118
Vis hexagonale
1032 315
119
Rondelle
1032 303
129
Vis
2085 320
151
Intercalaire
2085 304
152
Bobine d'allumage
2030 055
153
Vis
2035 200
154
Bobine
2082 053
159
Cable cleading
2033 355
160
Pièce de couplage
2035 306
230
Tringlerie de freinage
2033 112
235
Interrupteur
2031 125
236
Vis hexagonale
1032 315
237
Rondelle
2031 126
238
Interrupteur
2033 071
239
Câble
2033 110
240
Bride de fixation
2033 114
130A
Recouvrement
2033 109
130B
Frein de moteur
2033 111
150A
Volant d'inertie
2082 302
Wolf
Appareils à main
Cisailles à haie
Ciseaux universels
Cisailles à gazon à main
Coupe-branche
Cisailles
Soins des arbres
Systèmes d'éclairage
Taille-haie sur accu
Broyeur
Scies
Coupe-bordure
Tondeuse manuelle
Chariot épandeur / Portax
Chariot porte-tuyaux
Scarificateur/ ventilateur / aérateur
Tondeuse
Tondeuse à siège
Moteurs à essence
Tecumseh
Prisma
Centura
Futura
Synergy
Synergy 38 ES
Moteur (1)
Moteur (2)
Carburateur
Démarreur
Vantage
VLV
Briggs & Stratton
Honda
Kawasaki
Accessoires
Conditions générales de vente
(C) by motoruf