retour à
>
Moteurs à essence
>
Tecumseh
>
Centura
>
Centura 45 E
>
Moteur Centura
Listes de pièces de rechange pour Wolf Moteurs à essence Moteur Centura
pos.
description
Numéro de référence
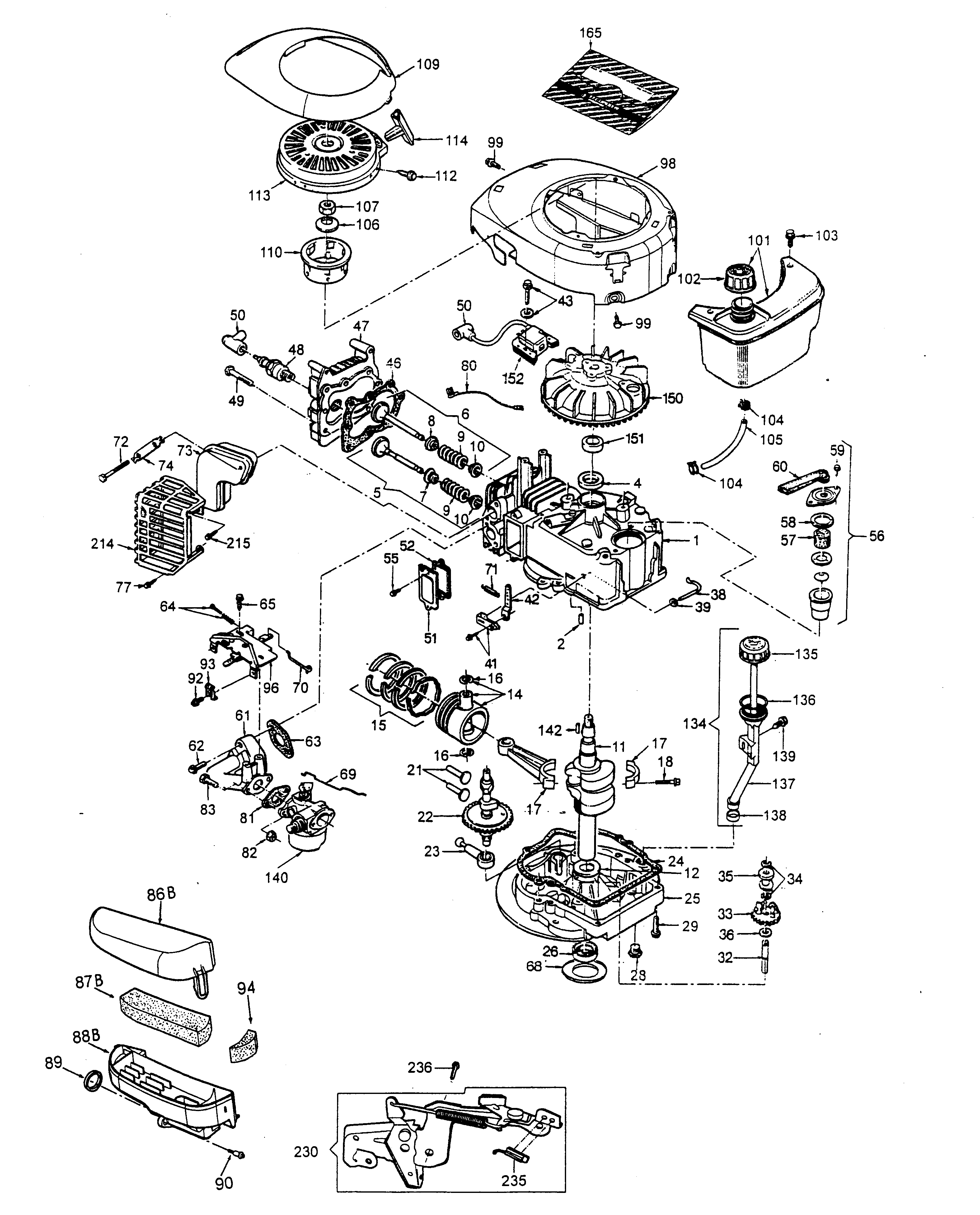
1
Cylindre
2037 060
2
Goujon
1032 201
4
Bourrage
1005 202
5
Soupape d'admission
1032 057
6
Soupape d'échappement
2085 056
7
Bourrage
2031 215
9
Ressort de soupape
2031 113
10
Tête de soupape
1005 209
11
Vilebrequin
2085 200
12
Butée
2025 208
14
Piston + goujon
2037 061
15
Jeu de segments
2037 062
16
Rondelle
1032 103
17
Bielle
2036 202
18
Vis
2036 201
21
Goujon
2031 114
22
Arbre à cames
2037 100
23
Pompe à huile
2026 206
24
Joint
1032 223
25
Flasque
2027 201
26
Bourrage
1005 217
28
Bouchon de vidange d'huile
2030 209
29
Vis hexagonale
1038 209
32
Arbre de régulateur
1032 225
33
Joint à adent
1032 230
34
Rondelle grower
1032 231
35
Bobine de régulateur
1032 232
36
Rondelle
2026 205
38
Arbre de régulateur
2026 208
39
Rondelle
1032 236
41
Levier
2031 117
42
Levier de régulateur
2085 202
43
Vis
2085 222
46
Joint
1005 106
47
Culasse
2028 100
48
Bougie d'allumage
2037 101
49
Vis
2030 203
50
Capuchon m de bougie
2085 301
51
Couvercle d'aération
2087 301
52
Joint
1032 306
55
Vis
2031 201
56
Reniflard
2031 531
57
Breather element
2087 303
58
Joint
2085 309
59
Vis
2085 310
60
Tube de reniflard
2031 532
61
Collecteur d'admission
2037 102
62
Vis
2085 404
63
Joint
2031 221
64
Jeu de vis de réglage
2037 103
65
Vis
2085 310
69
Joint articulé
2085 214
70
Joint articulé
2085 215
71
Goujon
2031 120
72
Vis
2030 200
73
Échappement
2037 063
74
Tôle de retenue
2025 209
77
Vis
2085 310
80
Câble
2031 121
81
Joint
1037 400
82
Écrou
2085 403
83
Vis
2031 202
86B
Couvercle de filtre
2037 300
87B
Cartouche de filtre
2037 301
88B
Boîtier de filtre
2037 302
89
Joint de boîtier de filtre
2037 303
90
Vis
2037 104
92
Vis
2085 404
93
Bras
1038 402
94
Reniflard
2037 105
96
Carburetor plate
2034 150
98
Logement de ventilateur
2037 304
99
Vis hexagonale
1032 315
101
Réservoir
2031 057
102
Couvercle de réservoir
2085 500
103
Vis
2026 215
104
Bride de fixation
2030 501
105
Tuyau flexible
2026 500
106
Rondelle
2026 606
107
Écrou
2026 607
109
Rondelle intercalaire
2037 106
110
Enveloppe de starter
2035 601
112
Vis
2085 614
113
Starter-Rewind
2034 011
114
Poignée
2030 601
134
Tuyau de remplissage d'huile complet
2031 075
135
Jauge d'huile
2031 255
136
Joint
2031 452
137
Tuyau de remplissage d'huile
2031 250
138
Joint
2027 208
139
Vis
2026 215
140
Carburateur
2037 064
142
Cale
2030 201
150
Volant d'inertie
2029 303
151
Intercalaire
2085 304
152
Bobine d'allumage
2037 065
165
Série de joints
2031 058
214
Protection thermique
2037 107
215
Vis
2031 207
230
Tringlerie de freinage
2031 124
235
Interrupteur
2031 125
236
Vis
2037 108
Wolf
Appareils à main
Cisailles à haie
Ciseaux universels
Cisailles à gazon à main
Coupe-branche
Cisailles
Soins des arbres
Systèmes d'éclairage
Taille-haie sur accu
Broyeur
Scies
Coupe-bordure
Tondeuse manuelle
Chariot épandeur / Portax
Chariot porte-tuyaux
Scarificateur/ ventilateur / aérateur
Tondeuse
Tondeuse à siège
Moteurs à essence
Tecumseh
Prisma
Centura
Centura 50 DX
Centura 40 S
Centura 45 E
Moteur Centura
Carburateur
Centura 55 LX KAT E-62101
Centura 65 SV
Centura 65 OHV
Futura
Synergy
Vantage
VLV
Briggs & Stratton
Honda
Kawasaki
Accessoires
Conditions générales de vente
(C) by motoruf