retour à
>
Tondeuse
>
Essence
>
Tondeuse sans moteur jusqu'à 42 cm
>
series 2
>
2.42 B, Good-Line
>
Moteur, lame
Listes de pièces de rechange pour Wolf Tondeuse Moteur, lame
pos.
description
Numéro de référence
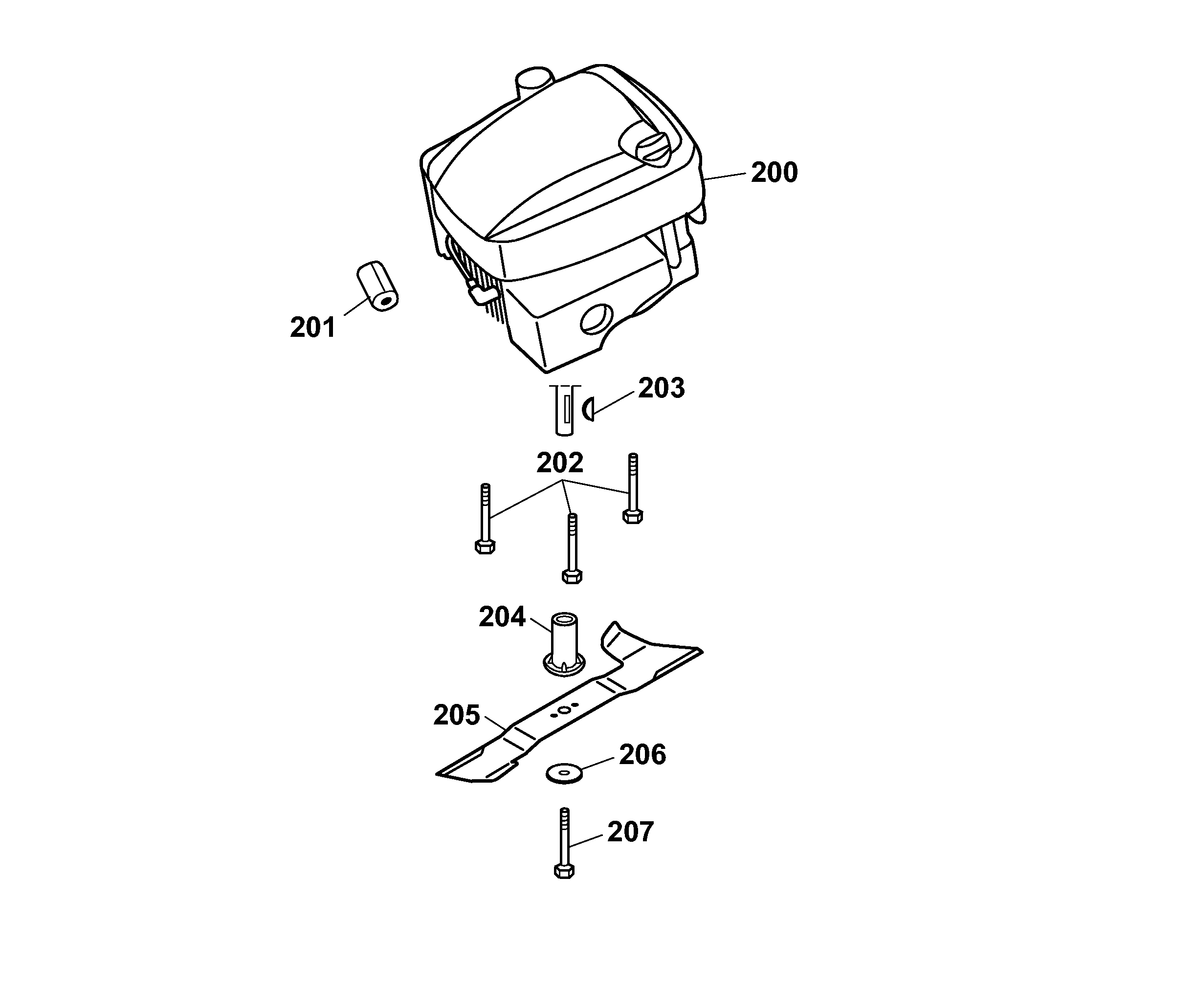
200
Moteur
2079 070
201
Ferrite rabattable
4933 105
202
Vis
0010 273
203
Rondelle élastique
0029 130
204
Flasque de porte-lame
4212 405
205
Porte-lame
4212 094
206
Rondelle bombée
0017 106
207
Vis
0010 275
Wolf
Appareils à main
Cisailles à haie
Ciseaux universels
Cisailles à gazon à main
Coupe-branche
Cisailles
Soins des arbres
Systèmes d'éclairage
Taille-haie sur accu
Broyeur
Scies
Coupe-bordure
Tondeuse manuelle
Chariot épandeur / Portax
Chariot porte-tuyaux
Scarificateur/ ventilateur / aérateur
Tondeuse
Accu
Essence
Tondeuse sans moteur jusqu'à 42 cm
series 2
2.42 T
2.42 TL
2.42 B
2.42 T
2.42 TL
2.42 TLK
2.42 BS
2.42 TV
2.42 TP
2.40 BQ
2.40 BS
2.40 H
2.40 BC
2.38 TV
2.40 BS
2.40 H
2.40 BC
2.42 B, Good-Line
Fiche de données
Châssis
Axe, roues, réglage de hauteur
Poignée cpl.
Moteur, lame
Sac récolteur Good-Line 42
Sprint 40 Fixspeed
2.40 B
2.40 BT
series 4
series 6
Premio
Power Edition
Esprit
Moto-Verte
Divers
Compact Plus
Tondeuse sans moteurplus de 43 cm
Entraînement jusqu'à 42 cm
Entraînement plus de 43 cm
Démarreur électrique / Touch&Mow
Électrique
Tondeuse à siège
Moteurs à essence
Accessoires
Conditions générales de vente
(C) by motoruf