retour à
>
Tondeuse
>
Essence
>
Tondeuse sans moteur jusqu'à 42 cm
>
Power Edition
>
Power Edition 40 H
>
Moteur, lame
Listes de pièces de rechange pour Wolf Tondeuse Moteur, lame
pos.
description
Numéro de référence
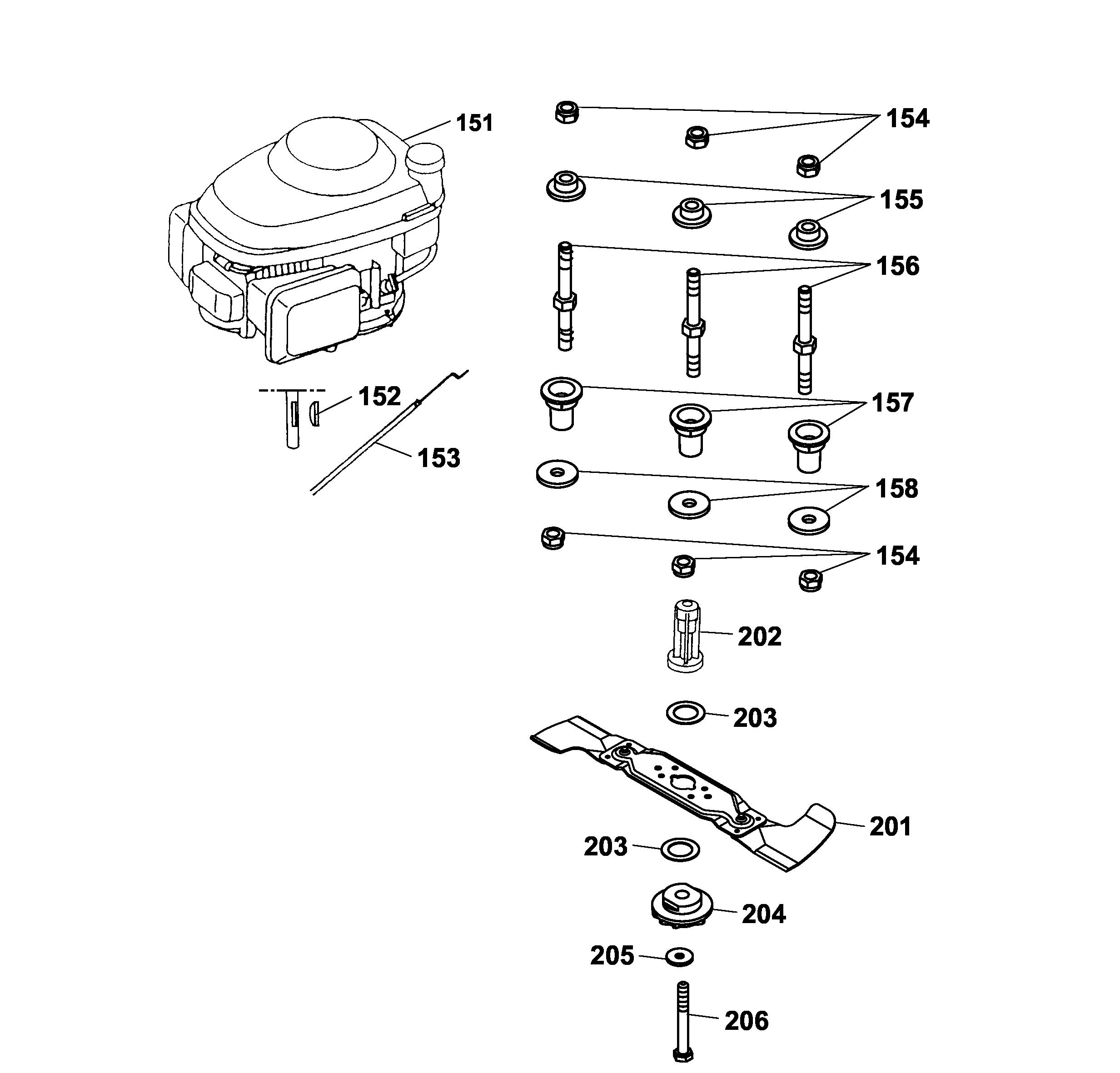
151
Motor
2098 000
152
Rondelle élastique
0029 130
153
Câble frein
4005 058
154
Écrou 6 pans
0016 312
155
Douille pour moteur
4001 172
156
Goujon dormant court
4001 170
157
Douille intercalaire
4601 312
158
Rondelle
0017 111
201
Porte-lame complet
4001 094
***
Replacement blades VI-W (1 pair)
4350 040
202
Douille d? accouplement
4601 402
203
Rondelle en fibre
4005 403
204
Disque d? embrayage
4840 402
205
Rondelle bombée
0017 105
206
Vis hexagonale
0010 264
Wolf
Appareils à main
Cisailles à haie
Ciseaux universels
Cisailles à gazon à main
Coupe-branche
Cisailles
Soins des arbres
Systèmes d'éclairage
Taille-haie sur accu
Broyeur
Scies
Coupe-bordure
Tondeuse manuelle
Chariot épandeur / Portax
Chariot porte-tuyaux
Scarificateur/ ventilateur / aérateur
Tondeuse
Accu
Essence
Tondeuse sans moteur jusqu'à 42 cm
series 2
series 4
series 6
Premio
Power Edition
Power Edition 40 H
Power Edition 40 H
Fiche de données
Châssis
Axe, roues, réglage de hauteur
Poignée cpl.
Moteur, lame
Panier récolteur Premio
GCV 160
Power Edition 40 H
Power Edition 40 K
Esprit
Moto-Verte
Divers
Compact Plus
Tondeuse sans moteurplus de 43 cm
Entraînement jusqu'à 42 cm
Entraînement plus de 43 cm
Démarreur électrique / Touch&Mow
Électrique
Tondeuse à siège
Moteurs à essence
Accessoires
Conditions générales de vente
(C) by motoruf