retour à
>
Tondeuse
>
Essence
>
Tondeuse sans moteurplus de 43 cm
>
Divers
>
B 46 TB
>
Moteur, lame
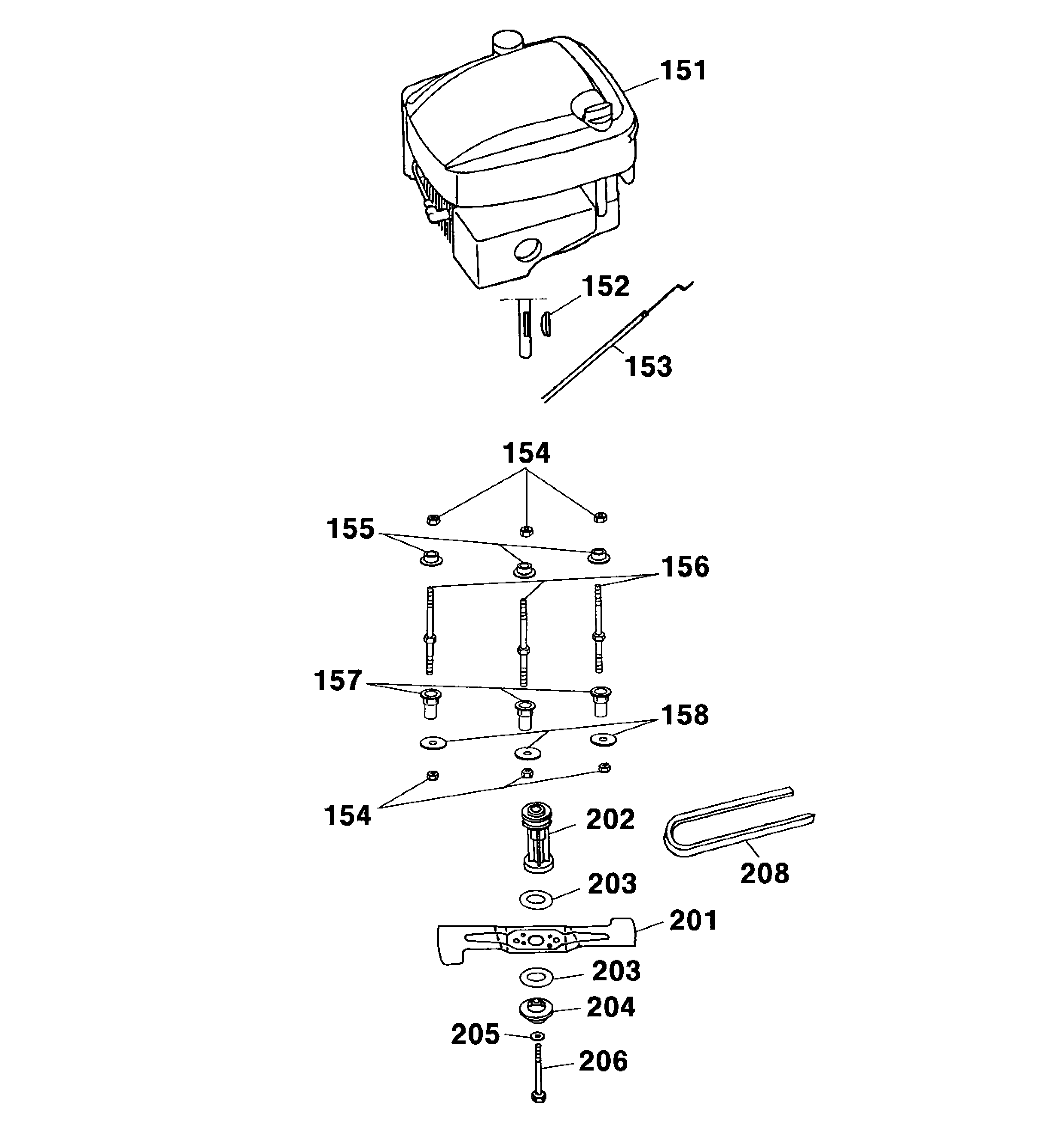
Listes de pièces de rechange pour Wolf Tondeuse Moteur, lame
pos.
description
Numéro de référence
151
Moteur Tecumseh
2038 005
152
Rondelle élastique
0029 055
153
Câble frein
4003 054
154
Écrou 6 pans
0016 312
155
Douille pour moteur
4001 172
156
Goujon dormant court
4001 170
157
Douille intercalaire
4601 312
158
Rondelle
0017 111
201
Lame
4601 095
202
Douille d? accouplement
4601 402
203
coupling
6450 403
204
Disque d? embrayage
4840 402
205
Rondelle bombée
0017 105
206
Vis hexagonale
0010 264
Wolf
Appareils à main
Cisailles à haie
Ciseaux universels
Cisailles à gazon à main
Coupe-branche
Cisailles
Soins des arbres
Systèmes d'éclairage
Taille-haie sur accu
Broyeur
Scies
Coupe-bordure
Tondeuse manuelle
Chariot épandeur / Portax
Chariot porte-tuyaux
Scarificateur/ ventilateur / aérateur
Tondeuse
Accu
Essence
Tondeuse sans moteur jusqu'à 42 cm
Tondeuse sans moteurplus de 43 cm
series 2
series 4
series 6
Concept
Premio
Esprit
Divers
B 46 TB
Fiche de données
Châssis, pièces de fixation
Axe, roues, réglage de hauteur
Poignée cpl.
Moteur, lame
Panier récolteur Esprit
Centura 50 DX
B 46 TB
B 46 TB
B 46 TB
B 46 TB
B 46 TB
Entraînement jusqu'à 42 cm
Entraînement plus de 43 cm
Démarreur électrique / Touch&Mow
Électrique
Tondeuse à siège
Moteurs à essence
Accessoires
Conditions générales de vente
(C) by motoruf