retour à
>
Scarificateur/ ventilateur / aérateur
>
Scarificateur
>
Essence
>
UV 35 B
>
Motor, Roller
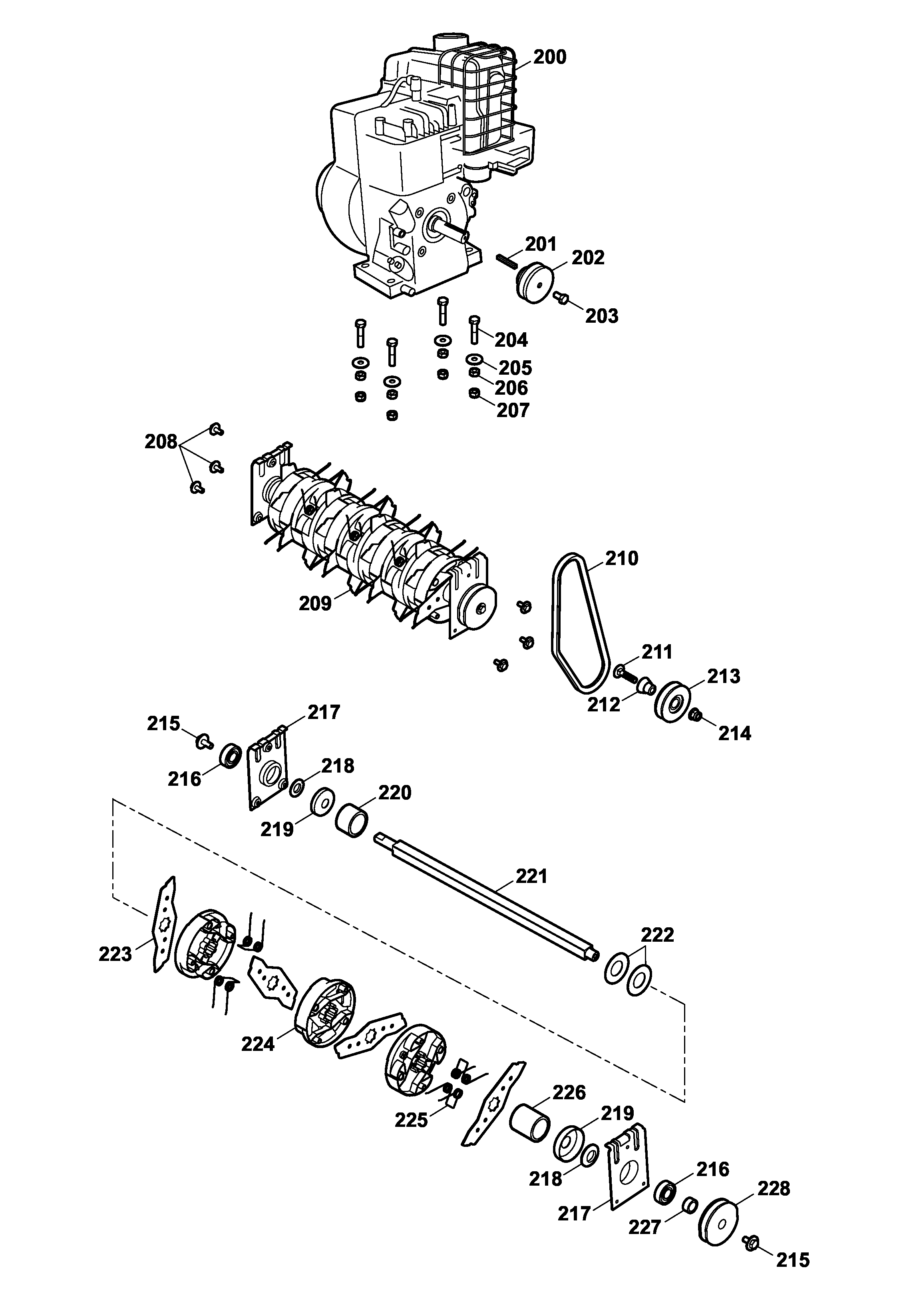
Listes de pièces de rechange pour Wolf Scarificateur/ ventilateur / aérateur Motor, Roller
pos.
description
Numéro de référence
200
Motor
2089 000
201
Clavette
0028 775
202
Cale pour poulie
3635 128
203
Vis hexagonale
0010 010
204
Vis
0010 334
205
Rondelle
0017 291
206
Écrou
0016 213
207
Écrou 6 pans
0016 312
208
Vis hexagonale
0010 681
209
Arbre de scarificateur complet
3635 060
210
Courroie trapézoïdale
0039 227
211
Vis
0013 655
212
axis for tension pulley, inner
3635 110
213
tension pulley, inner
3635 108
214
Écrou
0016 385
215
Vis Tuf-Lok
0010 892
216
Roulement à billes
0023 148
217
Coquille de coussinet
3568 017
218
Bague de pression
3568 512
219
Protection anti-enroulement
3568 509
220
Douille intercalaire
3585 510
221
Arbre de scarificateur
3635 120
222
Rondelle belleville
0022 850
223
Jeu de couteaux
3640 097
224
distance bush
3635 319
225
replacement springs UV-EFF 40
3640 098
226
Douille intercalaire intérieure, verte
3630 312
227
Douille intercalaire
3635 111
228
Cale pour poulie
3635 112
Wolf
Appareils à main
Cisailles à haie
Ciseaux universels
Cisailles à gazon à main
Coupe-branche
Cisailles
Soins des arbres
Systèmes d'éclairage
Taille-haie sur accu
Broyeur
Scies
Coupe-bordure
Tondeuse manuelle
Chariot épandeur / Portax
Chariot porte-tuyaux
Scarificateur/ ventilateur / aérateur
Scarificateur
Manuel
Électrique
Essence
UV 32 B
UV 32 B
UV 32 B
UR-K
UV 38 B
UV 38 BX
UV-P
UV 32 B
UV 35 B
Data Sheet
Chassis
Axle, Wheels
Handlebar, Switch
Motor, Roller
grass collector
UV 40 H
Ventilateur
Tondeuse
Tondeuse à siège
Moteurs à essence
Accessoires
Conditions générales de vente
(C) by motoruf