Paramètres Ordinateur

Chaînes de tronconneuses fonction de commande professionnelle

Chaîne de tronçonneuse

Si votre modèle de tronçonneuse ne se trouve pas dans la liste de fabricants, vous pouvez déterminer le type de votre chaîne de la manière suivante:

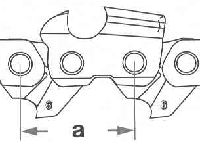
Division

Division de votre chaîne de tronçonneuse:

Pour déterminer la division, il faut mesurer la distance entre le centre d'un rivet au milieu du prochain et diviser cette distance par deux. (La mesure entre deux boulons de rivet est donc nécessaire en raison de l'espacement des trous dans les maillons d'entraînement et des dents ou des liens de coupe ont de tailles différentes.) Le résultat est la division en millimètres, qui est spécifiée en pouces selon la coutume internationale.
Épaisseur des maillons

Épaisseur des maillons:

pour les chaînes 3/8 de tronçonneuses de hobby, 1,3mm et rarement aussi 1,1 mm sont possibles. Pour 0,325 et 3/8, les gabarits 1,3 mm, 1,5 mm et 1,6 mm sont disponibles (1,6 mm pour Stihl).

Nombre des maillons
Comptez les maillons de votre chaîne d'origine.
Type de tronçonneuse

Bankeinzug, MasterCard, Visa, American Express, PayPal, Nachnahme, Vorauskasse, Sofortüberweisung
Gestion de qualité
Aidez-nous à améliorer cette page. Informez-nous de toute erreur que vous trouverez.