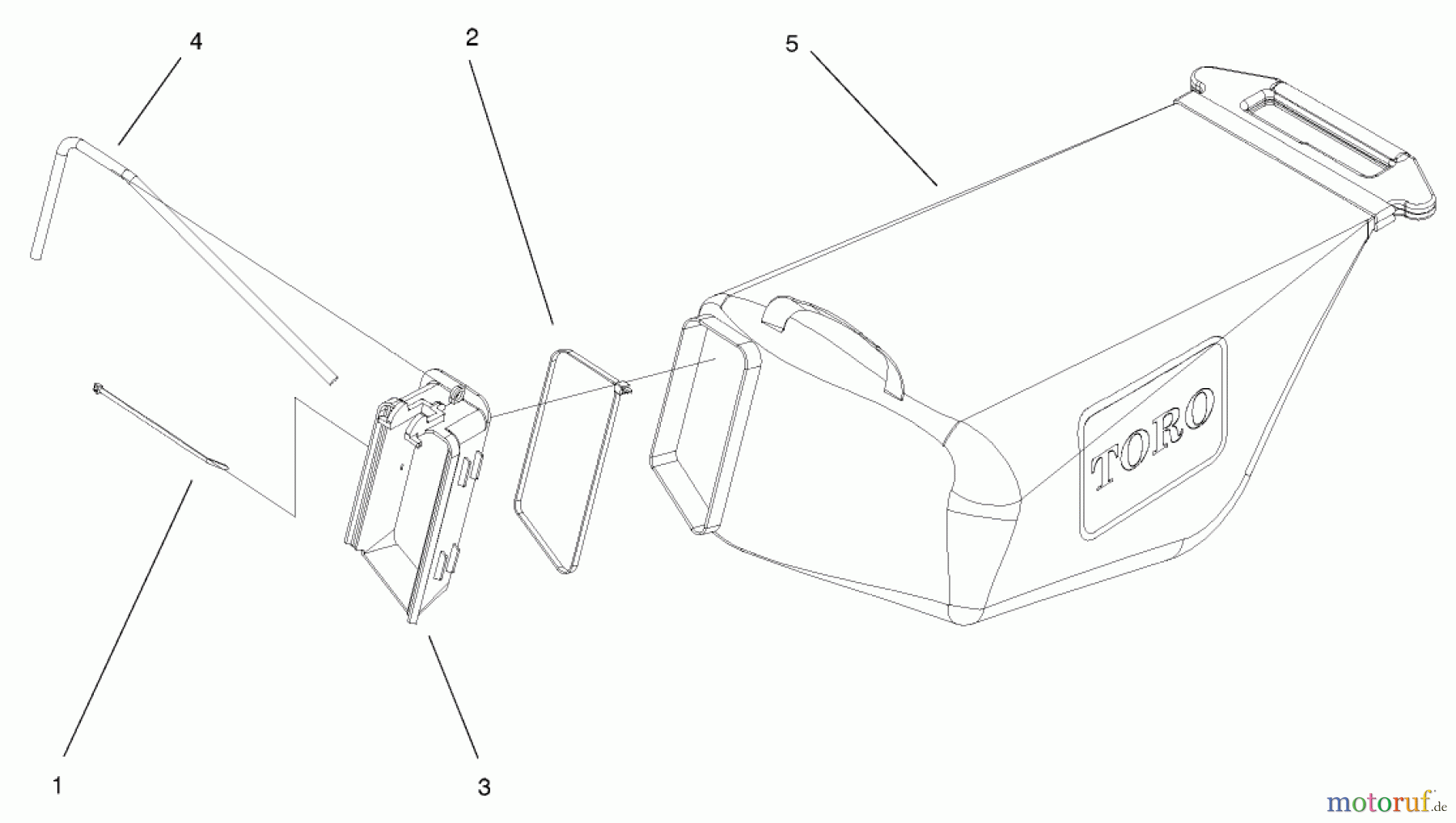
Toro 20022 (R-21S) - Recycler Mower, R-21S, 2001 (210000001-210999999) GRASS BAG ASSEMBLY PART NO. 98-2699 Pièces détachées
GRASS BAG ASSEMBLY PART NO. 98-2699 20022 (R-21S) - Toro Recycler Mower, R-21S, 2001 (210000001-210999999)

Vous trouverez ici le dessin de la pièce de rechange pour Toro Neu Mowers, Walk-Behind Seite 1 20022 (R-21S) - Toro Recycler Mower, R-21S, 2001 (210000001-210999999) GRASS BAG ASSEMBLY PART NO. 98-2699. Sélectionnez la pièce de rechange requise dans la liste des pièces de rechange de votre appareil Toro Neu Mowers, Walk-Behind Seite 1 20022 (R-21S) - Toro Recycler Mower, R-21S, 2001 (210000001-210999999) GRASS BAG ASSEMBLY PART NO. 98-2699 et commandez simplement en ligne. De nombreuses pièces de rechange Toro nous gardons en permanence dans notre entrepôt pour vous.
| Pos. | Numéro d'article | Description | |
| 1 | TR614249 | Kabelband | |
| 2 | TR61-4700 | ORDER BRIGGS 801293 | |
| 3 | TR | ||
| 4 | TR98-2693-03 | WIRE-SUPPORT,BAG | |
| 5 | TR | ||
| TR98-2699 | GRASS BAG ASM | ||


Gestion de qualité
Aidez-nous à améliorer cette page. Informez-nous de toute erreur que vous trouverez.

