Echo PB-9 - Back Pack Blower Control Lever Pièces détachées
Control Lever PB-9 - Echo Back Pack Blower

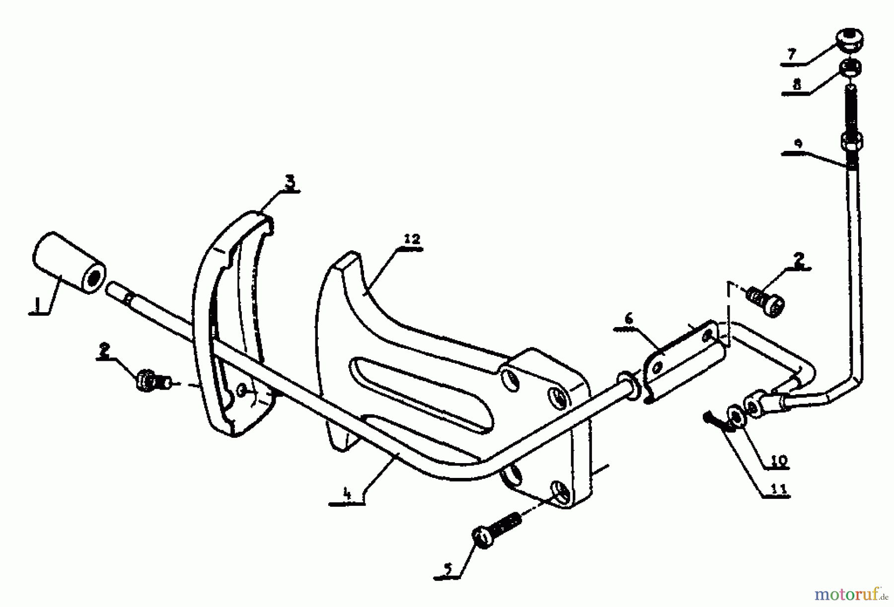
Vous trouverez ici le dessin de la pièce de rechange pour Echo Bläser / Sauger / Häcksler / Mulchgeräte PB-9 - Echo Back Pack Blower Control Lever. Sélectionnez la pièce de rechange requise dans la liste des pièces de rechange de votre appareil Echo Bläser / Sauger / Häcksler / Mulchgeräte PB-9 - Echo Back Pack Blower Control Lever et commandez simplement en ligne. De nombreuses pièces de rechange Echo nous gardons en permanence dans notre entrepôt pour vous.
| Pos. | Numéro d'article | Description | |
| 1 | 1617802301110 | ||
| 2 | 16-900220-05010 | Schraube | |
| 3 | 1699999999999 | ||
| 4 | 1617800501610 | ||
| 5 | 16-900220-05018 | Schraube | |
| 6 | 1617811401110 | ||
| 7 | 1617802101110 | ||
| 8 | 16-900500-00004 | Mutter | |
| 9 | 1617801101110 | ||
| 10 | 16-900600-00004 | Scheibe | |
| 11 | 1690030016010 | ||
| 12 | 1670111201810 | ||


Gestion de qualité
Aidez-nous à améliorer cette page. Informez-nous de toute erreur que vous trouverez.

