Echo CS-350TES - Chainsaw Air Cleaner, Carburetor, Muffler Pièces détachées
Air Cleaner, Carburetor, Muffler CS-350TES - Echo Chainsaw

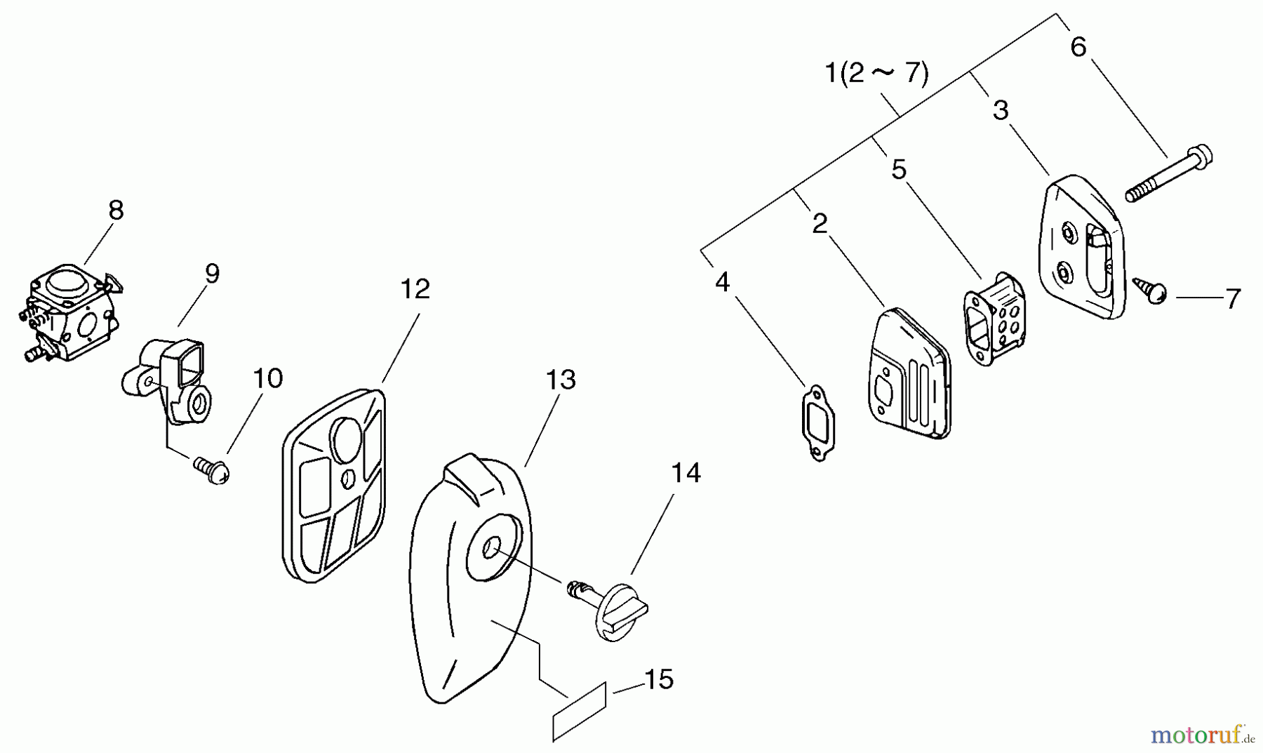
Vous trouverez ici le dessin de la pièce de rechange pour Echo Sägen, Kettensägen CS-350TES - Echo Chainsaw Air Cleaner, Carburetor, Muffler. Sélectionnez la pièce de rechange requise dans la liste des pièces de rechange de votre appareil Echo Sägen, Kettensägen CS-350TES - Echo Chainsaw Air Cleaner, Carburetor, Muffler et commandez simplement en ligne. De nombreuses pièces de rechange Echo nous gardons en permanence dans notre entrepôt pour vous.
Souvent nécessaire Echo CS-350TES - Chainsaw Air Cleaner, Carburetor, Muffler Pièces détachées

Numéro d'article: 16-145510-13931
Recherche pour: 16-145510-13931
Fabricant: Echo
Echo pièce détachée Air Cleaner, Carburetor, Muffler
Recherche pour: 16-145510-13931
Fabricant: Echo
Echo pièce détachée Air Cleaner, Carburetor, Muffler
3.95 €
Y compris la TVA dans UE, + frais d'envoi.


Gestion de qualité
Aidez-nous à améliorer cette page. Informez-nous de toute erreur que vous trouverez.


