Echo CS-420ES - Chainsaw, S/N: 20001001 - 20999999 Engine Cover Pièces détachées
Engine Cover CS-420ES - Echo Chainsaw, S/N: 20001001 - 20999999

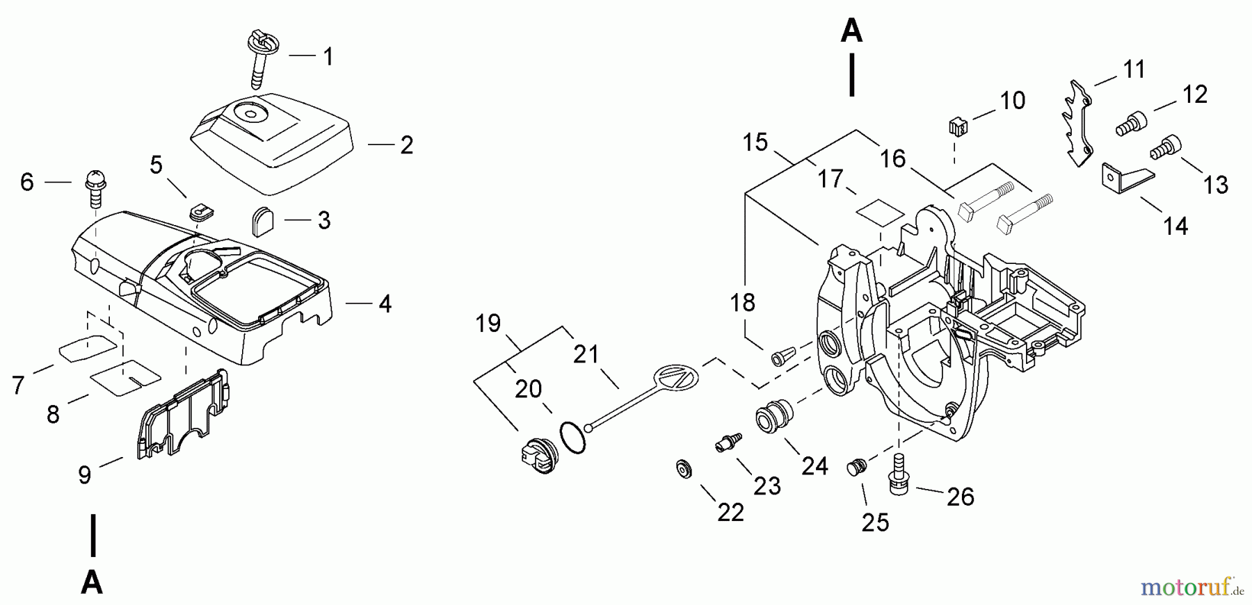
Vous trouverez ici le dessin de la pièce de rechange pour Echo Sägen, Kettensägen CS-420ES - Echo Chainsaw, S/N: 20001001 - 20999999 Engine Cover. Sélectionnez la pièce de rechange requise dans la liste des pièces de rechange de votre appareil Echo Sägen, Kettensägen CS-420ES - Echo Chainsaw, S/N: 20001001 - 20999999 Engine Cover et commandez simplement en ligne. De nombreuses pièces de rechange Echo nous gardons en permanence dans notre entrepôt pour vous.


Gestion de qualité
Aidez-nous à améliorer cette page. Informez-nous de toute erreur que vous trouverez.

