Echo GT-1100 - String Trimmer, S/N:098001 - 126000 Carburetor Pièces détachées
Carburetor GT-1100 - Echo String Trimmer, S/N:098001 - 126000

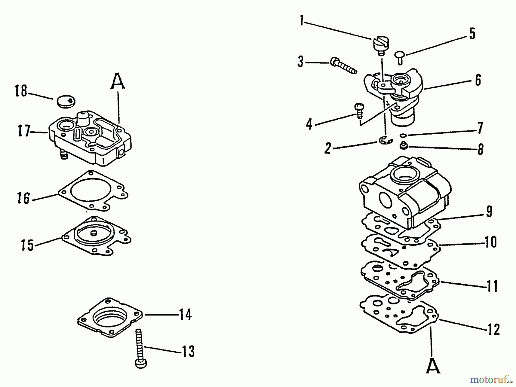
Vous trouverez ici le dessin de la pièce de rechange pour Echo Trimmer, Faden / Bürste GT-1100 - Echo String Trimmer, S/N:098001 - 126000 Carburetor. Sélectionnez la pièce de rechange requise dans la liste des pièces de rechange de votre appareil Echo Trimmer, Faden / Bürste GT-1100 - Echo String Trimmer, S/N:098001 - 126000 Carburetor et commandez simplement en ligne. De nombreuses pièces de rechange Echo nous gardons en permanence dans notre entrepôt pour vous.


Gestion de qualité
Aidez-nous à améliorer cette page. Informez-nous de toute erreur que vous trouverez.

