Echo SRM-2500 - String Trimmer Fuel System Pièces détachées
Fuel System SRM-2500 - Echo String Trimmer

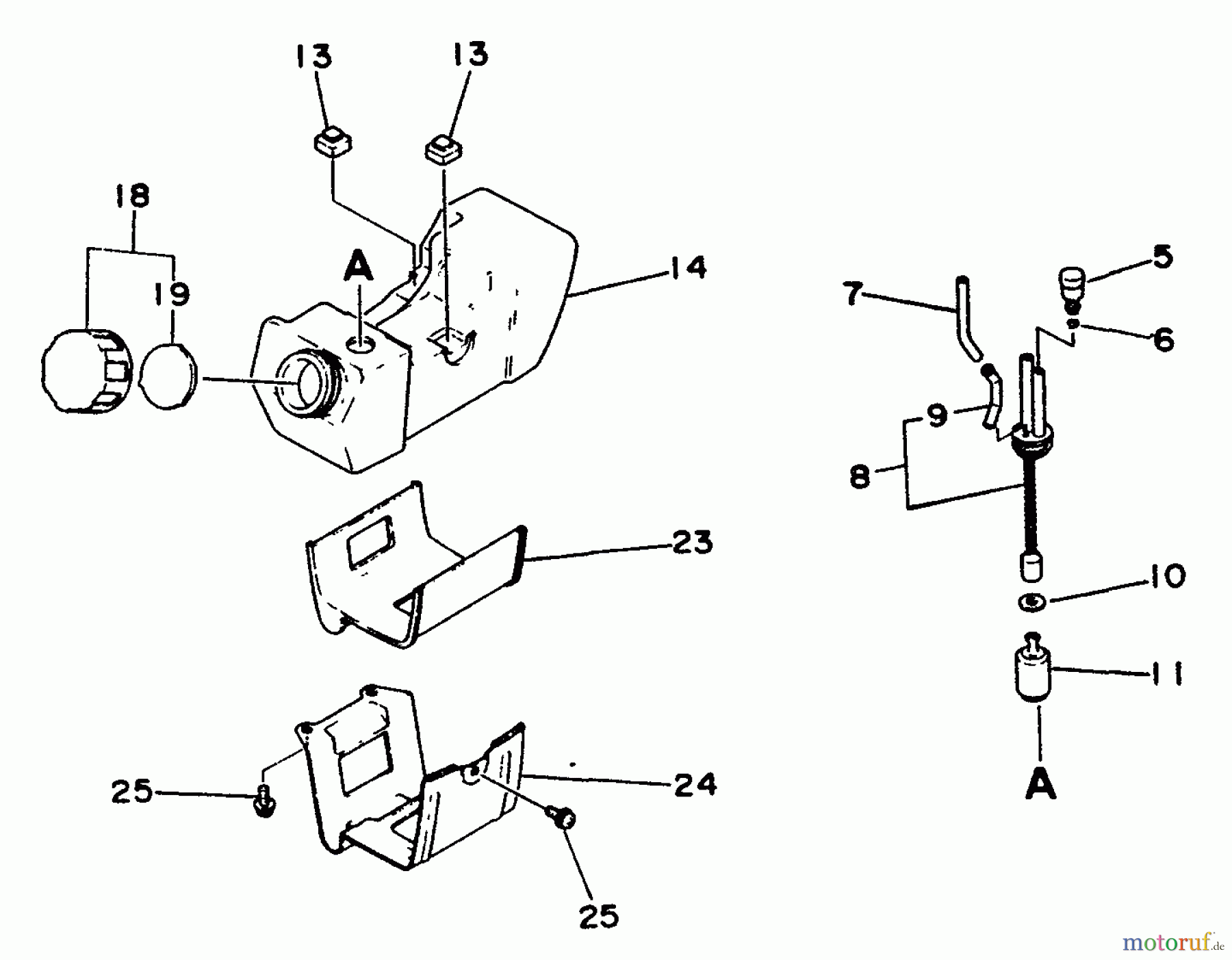
Vous trouverez ici le dessin de la pièce de rechange pour Echo Trimmer, Faden / Bürste SRM-2500 - Echo String Trimmer Fuel System. Sélectionnez la pièce de rechange requise dans la liste des pièces de rechange de votre appareil Echo Trimmer, Faden / Bürste SRM-2500 - Echo String Trimmer Fuel System et commandez simplement en ligne. De nombreuses pièces de rechange Echo nous gardons en permanence dans notre entrepôt pour vous.


Gestion de qualité
Aidez-nous à améliorer cette page. Informez-nous de toute erreur que vous trouverez.



