Trennschneider, Cut-Off GEAR HOUSING Pièces détachées
GEAR HOUSING K3000 Electric, 2007-01

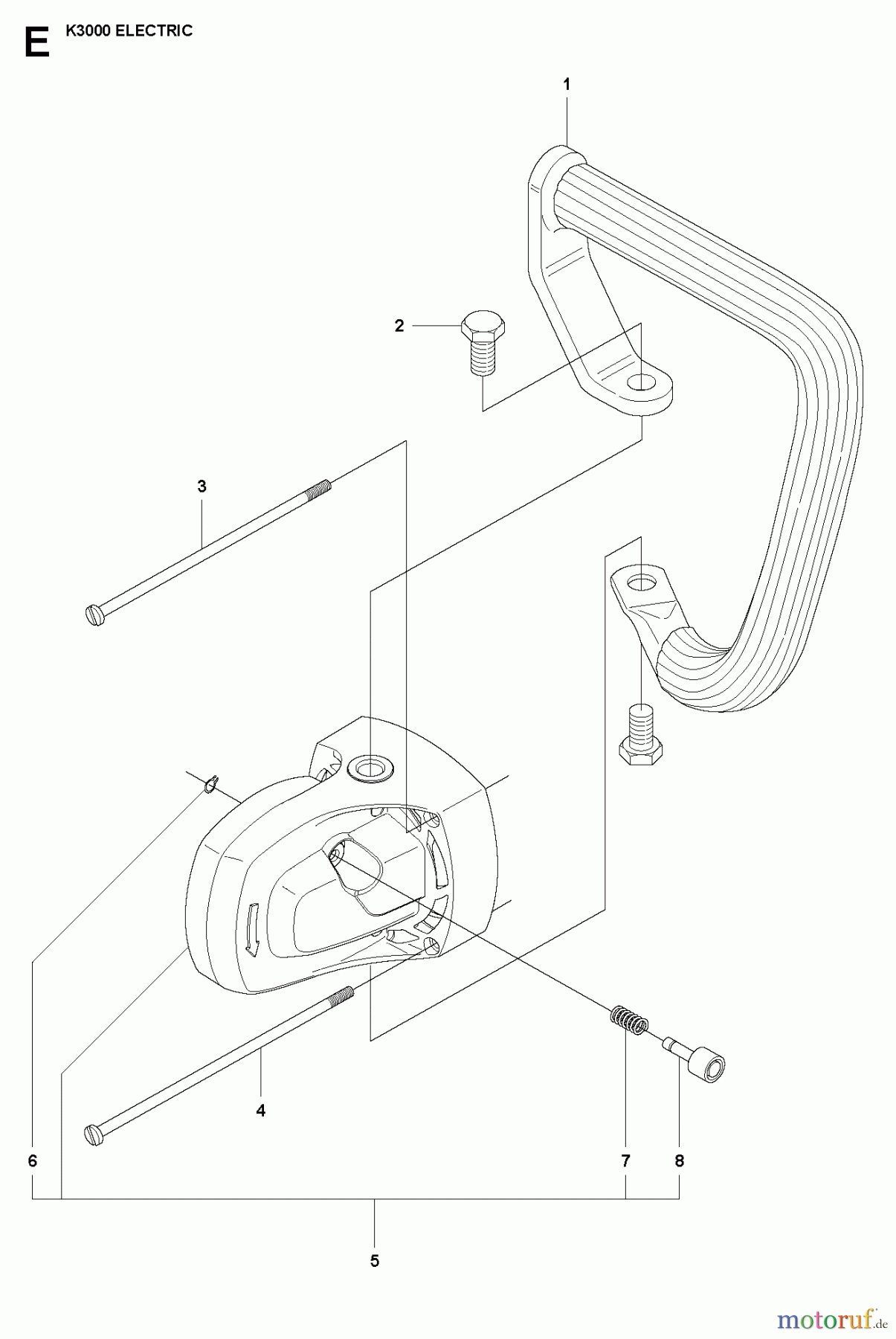
Vous trouverez ici le dessin de la pièce de rechange pour Trennschneider, Cut-Off K3000 Electric, 2007-01 GEAR HOUSING. Sélectionnez la pièce de rechange requise dans la liste des pièces de rechange de votre appareil Trennschneider, Cut-Off K3000 Electric, 2007-01 GEAR HOUSING et commandez simplement en ligne. De nombreuses pièces de rechange Trennschneider, Cut-Off nous gardons en permanence dans notre entrepôt pour vous.
| Pos. | Numéro d'article | Description | |
| 1 | 506 15 03-03 | GRIFFTEIL | |
| 2 | 531 03 12-76 | SCHRAUBE | |
| 3 | 505 53 03-11 | SCHRAUBE | |
| 4 | 531 03 18-94 | SCHRAUBE | |
| 5 | 544 40 34-01 | GETRIEBEGAHAEUSE | |
| 6 | 735 31 08-00 | Sägering | |
| 7 | 531 03 18-23 | FEDER | |
| 8 | 544 90 47-01 | ACHSE | |



