Jonsered FR2216 A (965190501) - Rear-Engine Riding Mower (2008-01) HOOD Pièces détachées
HOOD FR2216 A (965190501) - Jonsered Rear-Engine Riding Mower (2008-01)

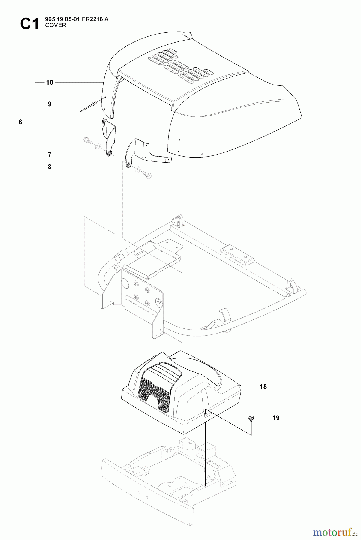
Vous trouverez ici le dessin de la pièce de rechange pour Jonsered Reitermäher FR2216 A (965190501) - Jonsered Rear-Engine Riding Mower (2008-01) HOOD. Sélectionnez la pièce de rechange requise dans la liste des pièces de rechange de votre appareil Jonsered Reitermäher FR2216 A (965190501) - Jonsered Rear-Engine Riding Mower (2008-01) HOOD et commandez simplement en ligne. De nombreuses pièces de rechange Jonsered nous gardons en permanence dans notre entrepôt pour vous.
| Pos. | Numéro d'article | Description | |
| 6 | 535 41 90-02 | HAUBE KPL. | |
| 7 | 535 41 99-01 | BEFESTIGUNG | |
| 8 | 535 41 99-02 | BEFESTIGUNG | |
| 9 | 722 79 54-02 | NIETE | |
| 10 | 535 41 79-02 | MOTORK.KPL. | |
| 11 | 506 59 95-01 | KNOPF | |
| 12 | 506 59 96-01 | STÜTZBAND | |
| 18 | 544 37 39-02 | GEHÄUSE | |
| 19 | ![]() | 544 40 05-01 | GEWINDESTIFT |


Gestion de qualité
Aidez-nous à améliorer cette page. Informez-nous de toute erreur que vous trouverez.


