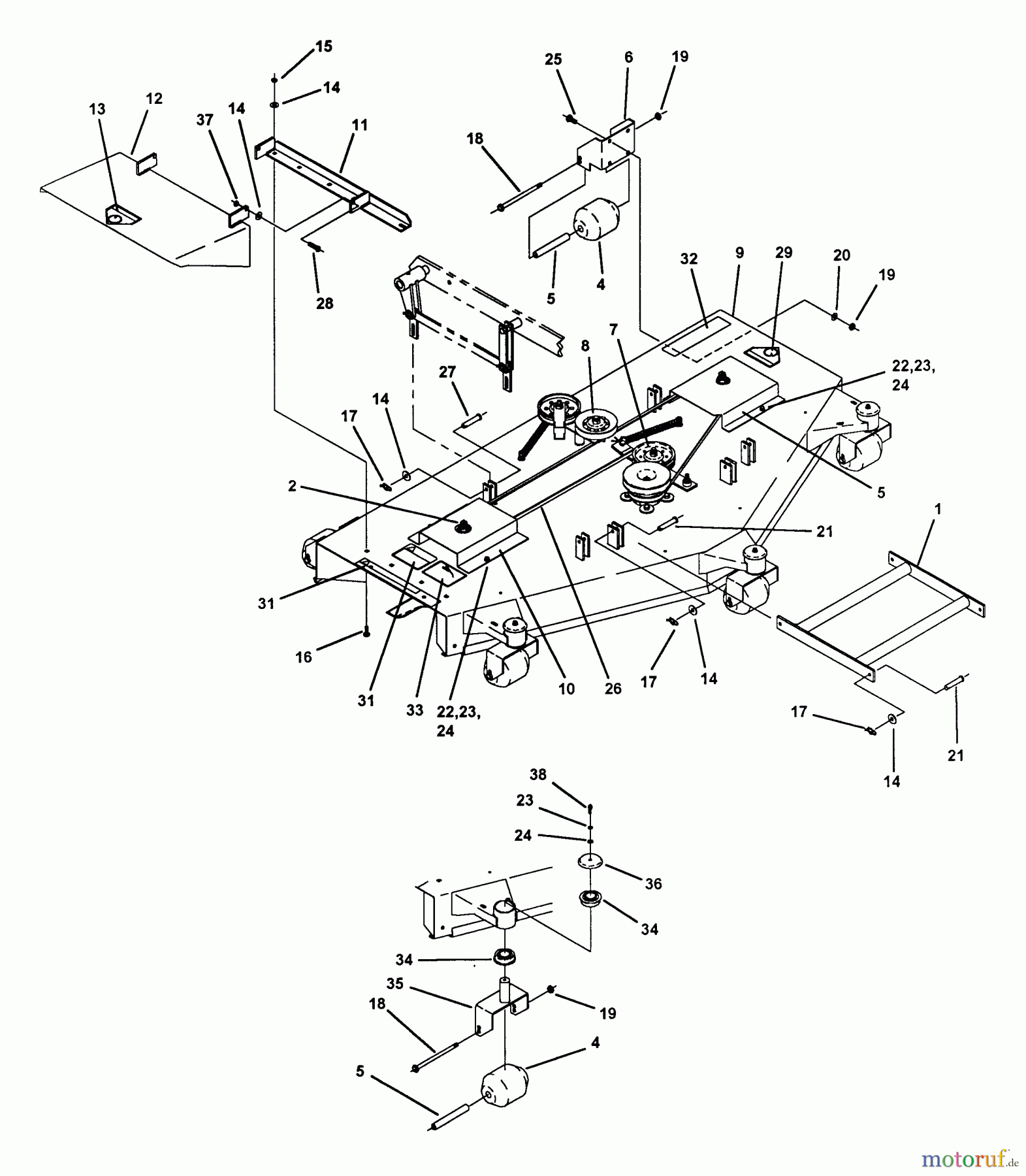
Snapper Z6004M - 60" Deck, Mid Mount ZTR, Series 4 60" Deck Assembly Pièces détachées
60" Deck Assembly Z6004M - Snapper 60" Deck, Mid Mount ZTR, Series 4

Vous trouverez ici le dessin de la pièce de rechange pour Snapper Mähdecks Z6004M - Snapper 60" Deck, Mid Mount ZTR, Series 4 60" Deck Assembly. Sélectionnez la pièce de rechange requise dans la liste des pièces de rechange de votre appareil Snapper Mähdecks Z6004M - Snapper 60" Deck, Mid Mount ZTR, Series 4 60" Deck Assembly et commandez simplement en ligne. De nombreuses pièces de rechange Snapper nous gardons en permanence dans notre entrepôt pour vous.


Gestion de qualité
Aidez-nous à améliorer cette page. Informez-nous de toute erreur que vous trouverez.


