Tanaka THT-212 - Hedge Trimmer Handle Pièces détachées
Handle THT-212 - Tanaka Hedge Trimmer

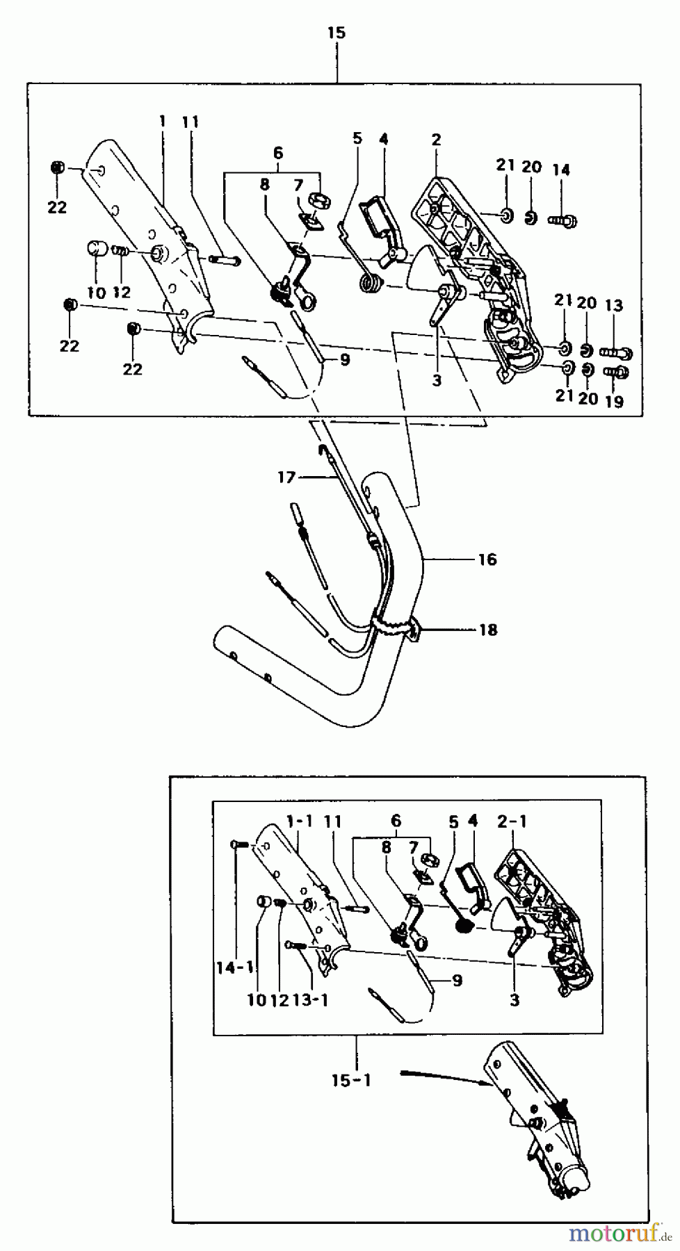
Vous trouverez ici le dessin de la pièce de rechange pour Tanaka Heckenscheeren THT-212 - Tanaka Hedge Trimmer Handle. Sélectionnez la pièce de rechange requise dans la liste des pièces de rechange de votre appareil Tanaka Heckenscheeren THT-212 - Tanaka Hedge Trimmer Handle et commandez simplement en ligne. De nombreuses pièces de rechange Tanaka nous gardons en permanence dans notre entrepôt pour vous.





