Mäher, Stand-on SPINDLE ASSEMBLY NO. 117-7640 Pièces détachées
SPINDLE ASSEMBLY NO. 117-7640 79536 - Toro GrandStand Mower, 40" TURBO FORCE Cutting Unit (SN: 310000001 - 310999999) (2010)

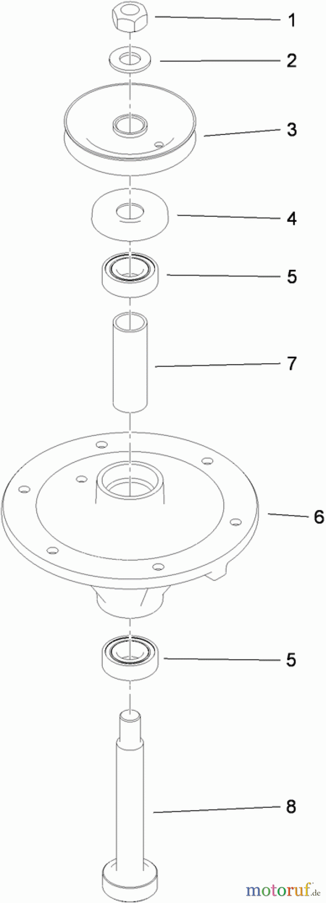
Vous trouverez ici le dessin de la pièce de rechange pour Mäher, Stand-on 79536 - Toro GrandStand Mower, 40" TURBO FORCE Cutting Unit (SN: 310000001 - 310999999) (2010) SPINDLE ASSEMBLY NO. 117-7640. Sélectionnez la pièce de rechange requise dans la liste des pièces de rechange de votre appareil Mäher, Stand-on 79536 - Toro GrandStand Mower, 40" TURBO FORCE Cutting Unit (SN: 310000001 - 310999999) (2010) SPINDLE ASSEMBLY NO. 117-7640 et commandez simplement en ligne. De nombreuses pièces de rechange Mäher, Stand-on nous gardons en permanence dans notre entrepôt pour vous.
| Pos. | Numéro d'article | Description | |
| 1 | TR3219-7 | Mutter | |
| 2 | TR7-4150 | WASHER | |
| 3 | TR117-7617 | PULLEY ASM | |
| 4 | TR106-0873 | Lagerdeckel | |
| 5 | TR116-0720 | BEARING-BALL | |
| 6 | TR108-6696 | HOUSING-SPINDLE | |
| 7 | TR110-0727 | SPACER-BEARING | |
| 8 | TR117-7626 | SHAFT-SPINDLE | |



