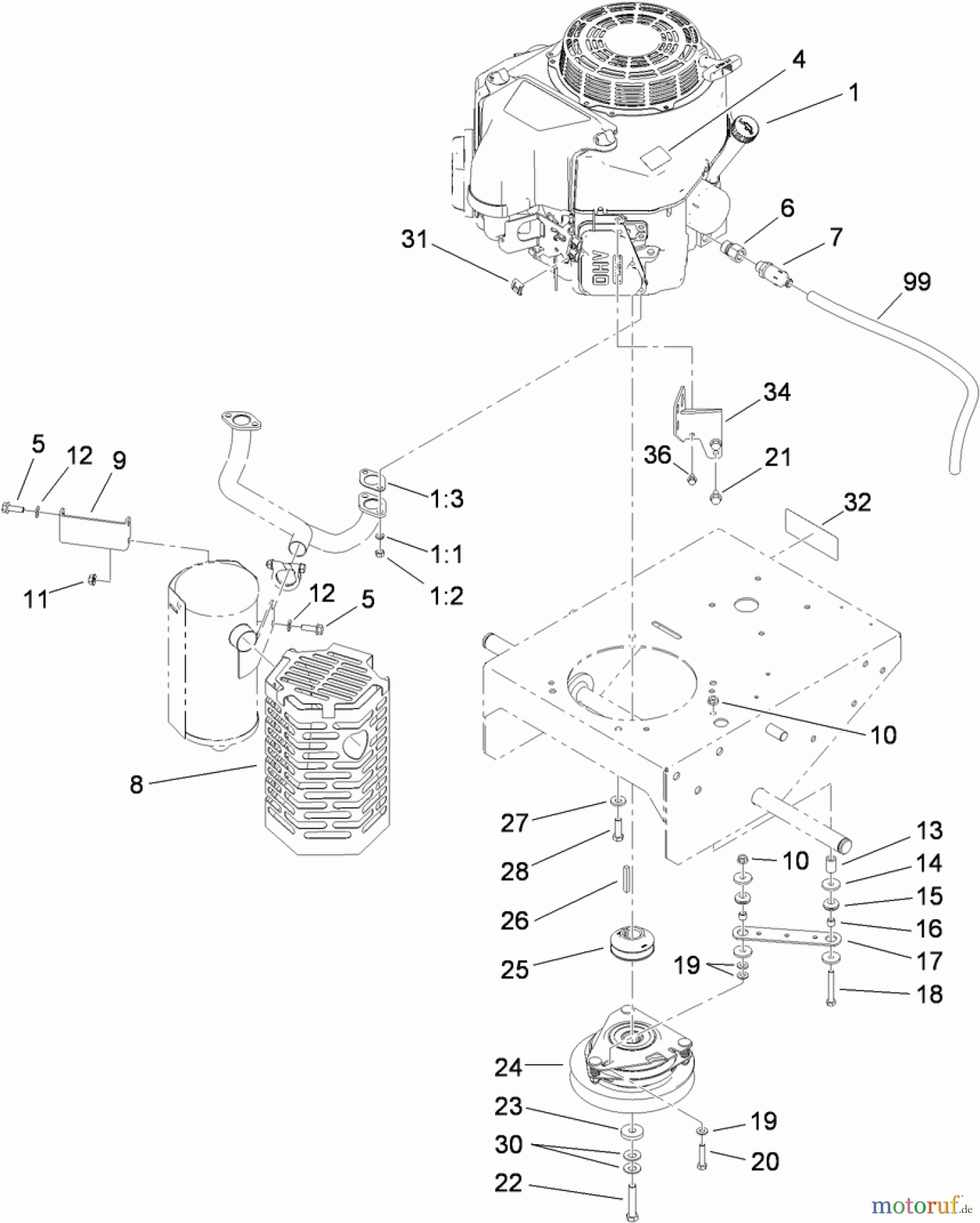
Rasenmäher für Großflächen ENGINE AND CLUTCH ASSEMBLY Pièces détachées
ENGINE AND CLUTCH ASSEMBLY 30072 - Toro Commercial Walk-Behind Mower, Floating Deck, T-Bar, Gear Drive, 32" Cutting Unit (SN: 311000001 - 311999999) (2011)

Vous trouverez ici le dessin de la pièce de rechange pour Rasenmäher für Großflächen 30072 - Toro Commercial Walk-Behind Mower, Floating Deck, T-Bar, Gear Drive, 32" Cutting Unit (SN: 311000001 - 311999999) (2011) ENGINE AND CLUTCH ASSEMBLY. Sélectionnez la pièce de rechange requise dans la liste des pièces de rechange de votre appareil Rasenmäher für Großflächen 30072 - Toro Commercial Walk-Behind Mower, Floating Deck, T-Bar, Gear Drive, 32" Cutting Unit (SN: 311000001 - 311999999) (2011) ENGINE AND CLUTCH ASSEMBLY et commandez simplement en ligne. De nombreuses pièces de rechange Rasenmäher für Großflächen nous gardons en permanence dans notre entrepôt pour vous.




