Toro 15-42RC02 - 42" Rear Discharge Mower, 1991 (1000001-1999999) REAR DISCHARGE MOWER-42 IN. #3 Pièces détachées
REAR DISCHARGE MOWER-42 IN. #3 15-42RC02 - Toro 42" Rear Discharge Mower, 1991 (1000001-1999999)

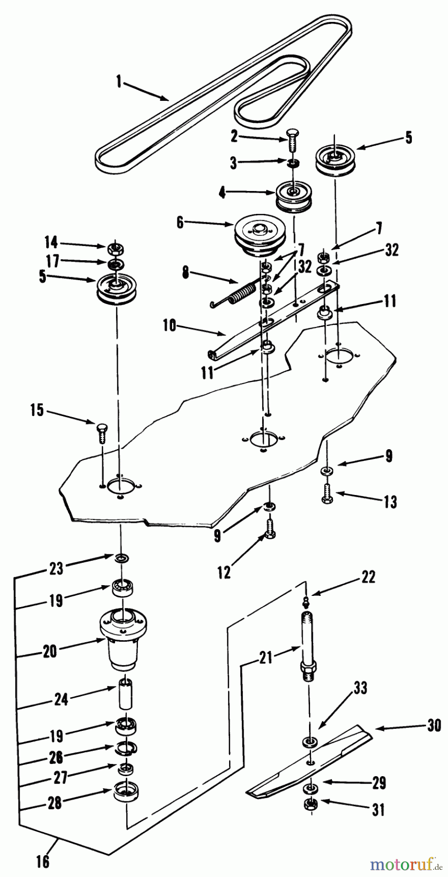
Vous trouverez ici le dessin de la pièce de rechange pour Toro Neu Mowers, Deck Assembly Only 15-42RC02 - Toro 42" Rear Discharge Mower, 1991 (1000001-1999999) REAR DISCHARGE MOWER-42 IN. #3. Sélectionnez la pièce de rechange requise dans la liste des pièces de rechange de votre appareil Toro Neu Mowers, Deck Assembly Only 15-42RC02 - Toro 42" Rear Discharge Mower, 1991 (1000001-1999999) REAR DISCHARGE MOWER-42 IN. #3 et commandez simplement en ligne. De nombreuses pièces de rechange Toro nous gardons en permanence dans notre entrepôt pour vous.





