Toro 56190 (10-32) - 10-32 Recycler Rider, 1992 (2000001-2999999) DIFFERENTIAL ASSEMBLY Pièces détachées
DIFFERENTIAL ASSEMBLY 56190 (10-32) - Toro 10-32 Recycler Rider, 1992 (2000001-2999999)

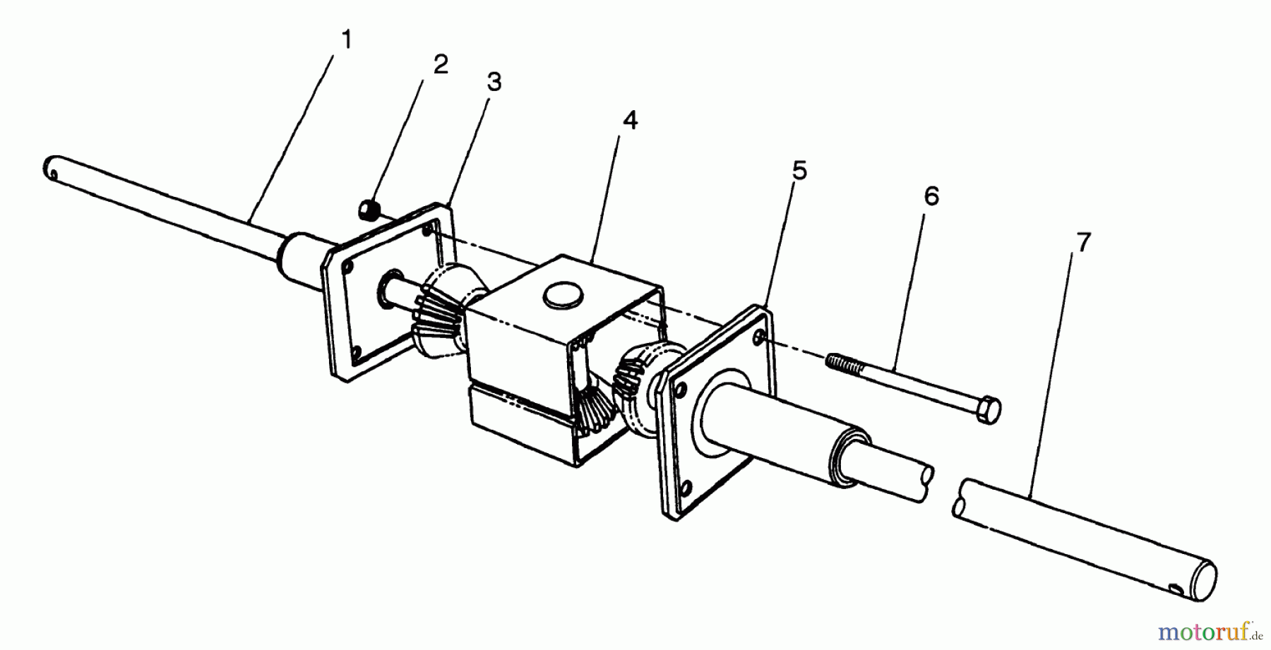
Vous trouverez ici le dessin de la pièce de rechange pour Toro Neu Mowers, Rear-Engine Rider 56190 (10-32) - Toro 10-32 Recycler Rider, 1992 (2000001-2999999) DIFFERENTIAL ASSEMBLY. Sélectionnez la pièce de rechange requise dans la liste des pièces de rechange de votre appareil Toro Neu Mowers, Rear-Engine Rider 56190 (10-32) - Toro 10-32 Recycler Rider, 1992 (2000001-2999999) DIFFERENTIAL ASSEMBLY et commandez simplement en ligne. De nombreuses pièces de rechange Toro nous gardons en permanence dans notre entrepôt pour vous.
| Pos. | Numéro d'article | Description | |
| 1 | TR55-7760 | AXLE | |
| 2 | TR32152-1 | Mutter | |
| 3 | TR55-7770 | Achsschenkel | |
| 4 | TR55-7780 | Achsgehaeuse | |
| 5 | TR55-7771 | Achsschenkel | |
| 6 | TR322-22 | Schraube | |
| 7 | TR55-7761 | AXLE | |
| TR56-7110 | DISCONTINUED | ||



