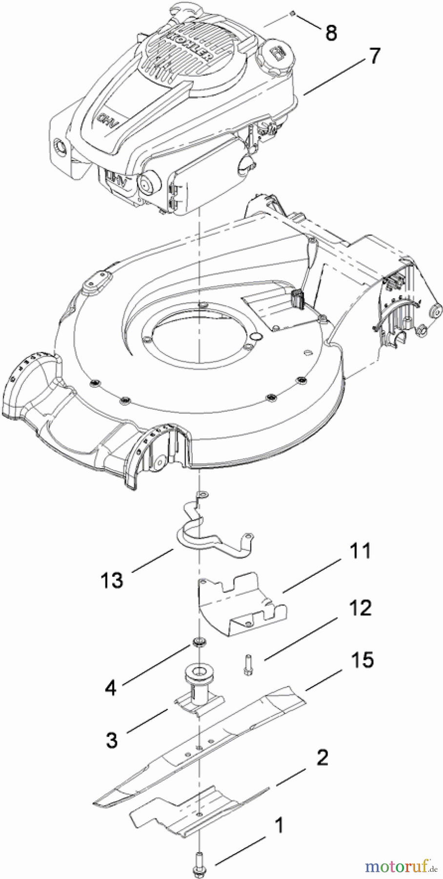
Toro 20099 - Super Recycler Lawn Mower, 2011 (311000001-311999999) ENGINE AND BLADE ASSEMBLY Pièces détachées
ENGINE AND BLADE ASSEMBLY 20099 - Toro Super Recycler Lawn Mower, 2011 (311000001-311999999)

Vous trouverez ici le dessin de la pièce de rechange pour Toro Neu Mowers, Walk-Behind Seite 1 20099 - Toro Super Recycler Lawn Mower, 2011 (311000001-311999999) ENGINE AND BLADE ASSEMBLY. Sélectionnez la pièce de rechange requise dans la liste des pièces de rechange de votre appareil Toro Neu Mowers, Walk-Behind Seite 1 20099 - Toro Super Recycler Lawn Mower, 2011 (311000001-311999999) ENGINE AND BLADE ASSEMBLY et commandez simplement en ligne. De nombreuses pièces de rechange Toro nous gardons en permanence dans notre entrepôt pour vous.


Gestion de qualité
Aidez-nous à améliorer cette page. Informez-nous de toute erreur que vous trouverez.

