Toro 74385 (ZS 3200) - TimeCutter ZS 3200 Riding Mower, 2012 (SN 312000001-312999999) CLUTCH ASSEMBLY Pièces détachées
CLUTCH ASSEMBLY 74385 (ZS 3200) - Toro TimeCutter ZS 3200 Riding Mower, 2012 (SN 312000001-312999999)

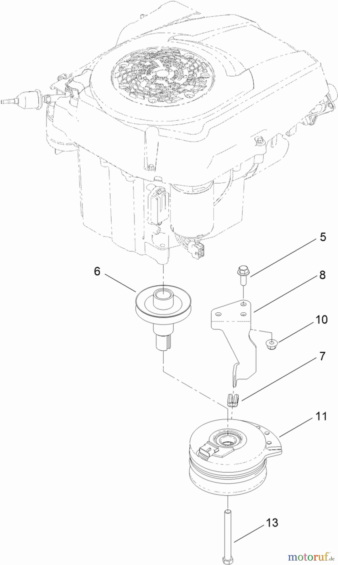
Vous trouverez ici le dessin de la pièce de rechange pour Toro Neu Mowers, Zero-Turn 74385 (ZS 3200) - Toro TimeCutter ZS 3200 Riding Mower, 2012 (SN 312000001-312999999) CLUTCH ASSEMBLY. Sélectionnez la pièce de rechange requise dans la liste des pièces de rechange de votre appareil Toro Neu Mowers, Zero-Turn 74385 (ZS 3200) - Toro TimeCutter ZS 3200 Riding Mower, 2012 (SN 312000001-312999999) CLUTCH ASSEMBLY et commandez simplement en ligne. De nombreuses pièces de rechange Toro nous gardons en permanence dans notre entrepôt pour vous.
| Pos. | Numéro d'article | Description | |
| 5 | TR3234-42 | Innensechskantschraube | |
| 6 | TR119-3318 | PULLEY-ENGINE | |
| 7 | TR120-2217 | ISOLATOR-CLUTCH | |
| 8 | TR119-8884 | STOP-CLUTCH | |
| 10 | TR104-8301 | Mutter | |
| 11 | TR117-7468 | CLUTCH-ELECTRIC | |
| 13 | TR3212-16 | SCREW-HH | |


Gestion de qualité
Aidez-nous à améliorer cette page. Informez-nous de toute erreur que vous trouverez.

