Toro 74433 (ZD420) - TimeCutter ZD420 Riding Mower, 2011 (311000001-311999999) BAGGING ASSEMBLY Pièces détachées
BAGGING ASSEMBLY 74433 (ZD420) - Toro TimeCutter ZD420 Riding Mower, 2011 (311000001-311999999)

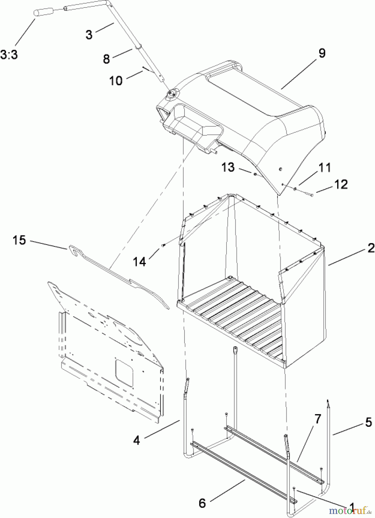
Vous trouverez ici le dessin de la pièce de rechange pour Toro Neu Mowers, Zero-Turn 74433 (ZD420) - Toro TimeCutter ZD420 Riding Mower, 2011 (311000001-311999999) BAGGING ASSEMBLY. Sélectionnez la pièce de rechange requise dans la liste des pièces de rechange de votre appareil Toro Neu Mowers, Zero-Turn 74433 (ZD420) - Toro TimeCutter ZD420 Riding Mower, 2011 (311000001-311999999) BAGGING ASSEMBLY et commandez simplement en ligne. De nombreuses pièces de rechange Toro nous gardons en permanence dans notre entrepôt pour vous.


Gestion de qualité
Aidez-nous à améliorer cette page. Informez-nous de toute erreur que vous trouverez.

