Toro 74502 (Z16-44) - Z16-44 TimeCutter Z Riding Mower, 2002 (220000001-220999999) STARTER ASSEMBLY BRIGGS AND STRATTON 31E777-0126-E1 Pièces détachées
STARTER ASSEMBLY BRIGGS AND STRATTON 31E777-0126-E1 74502 (Z16-44) - Toro Z16-44 TimeCutter Z Riding Mower, 2002 (220000001-220999999)

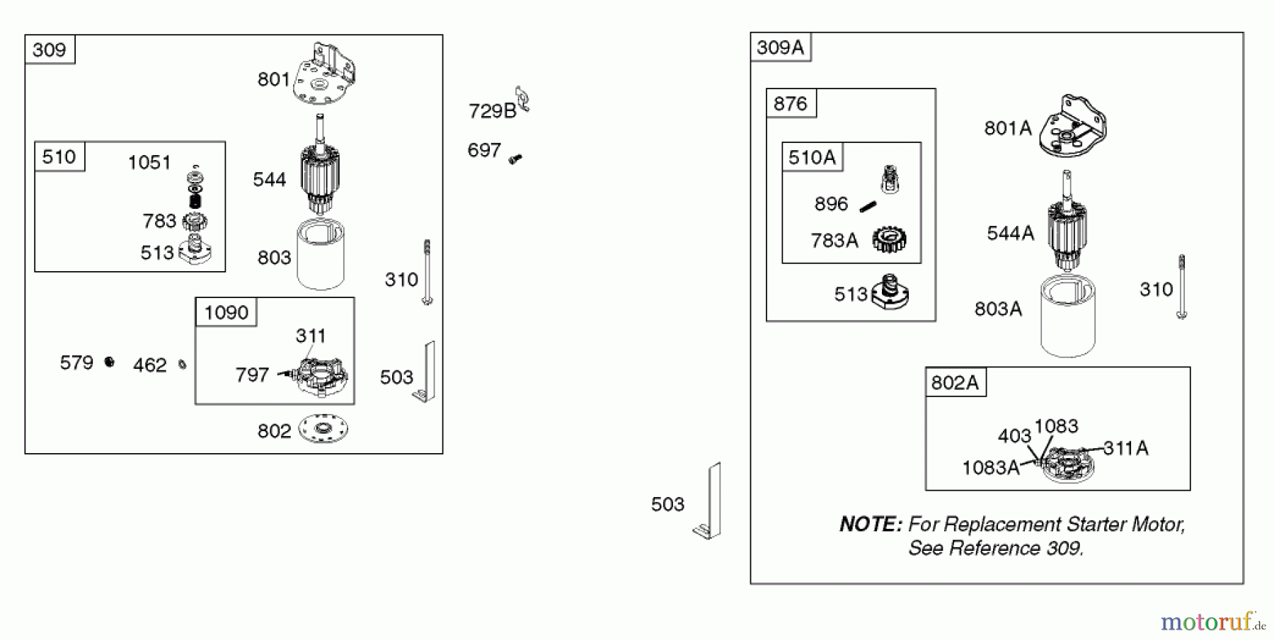
Vous trouverez ici le dessin de la pièce de rechange pour Toro Neu Mowers, Zero-Turn 74502 (Z16-44) - Toro Z16-44 TimeCutter Z Riding Mower, 2002 (220000001-220999999) STARTER ASSEMBLY BRIGGS AND STRATTON 31E777-0126-E1. Sélectionnez la pièce de rechange requise dans la liste des pièces de rechange de votre appareil Toro Neu Mowers, Zero-Turn 74502 (Z16-44) - Toro Z16-44 TimeCutter Z Riding Mower, 2002 (220000001-220999999) STARTER ASSEMBLY BRIGGS AND STRATTON 31E777-0126-E1 et commandez simplement en ligne. De nombreuses pièces de rechange Toro nous gardons en permanence dans notre entrepôt pour vous.
| Pos. | Numéro d'article | Description | |
| 309 | BS693551 | STARTERMOTOR | |
| 309A | BS | Eingangswelle UE 600 | |
| 310 | BS690323 | BOLZEN | |
| 311 | BS497608 | BUERSTENSATZ | |
| 311A | BS395538 | BUERSTENSATZ | |
| 403 | BS690288 | SCHEIBE 90367 | |
| 462 | BS691261 | SCHEIBE | |
| 503 | BS691532 | VERBINDUNG | |
| 510 | BS693699 | ANTRIEB | |
| 510A | BS696540 | ANTRIEB | |
| 513 | BS692024 | STARTERKUPPLUNG | |
| 544 | BS692034 | WICKLUNG | |
| 544A | BS390837 | ANKER 392747 | |
| 579 | BS691029 | MUTTER | |
| 697 | BS690372 | SCHRAUBE | |
| 729B | BS691224 | KLEMME | |
| 783 | ![]() | BS693713 | ZAHNRAD |
| 783A | ![]() | BS695708 | ZAHNRAD |
| 797 | BS693167 | ABZIEH-MUTTER | |
| 801 | BS691283 | DECKEL | |
| 801A | BS691283 | DECKEL | |
| 802 | BS691286 | DECKEL | |
| 802A | BS395537 | DECKEL | |
| 803 | BS693757 | STARTERGEHAUESE | |
| 803A | BS398159 | STARTERGEHAUSE | |
| 876 | BS696539 | KIT-PINION SPRING | |
| 896 | BS691641 | SCHWERSPANNSTIFT | |
| 1051 | BS691265 | KOLBENRINGSICHERUNG | |
| 1083 | BS690958 | MUTTER | |
| 1083A | BS691626 | MUTTER | |
| 1090 | BS691293 | HALTERING | |


Gestion de qualité
Aidez-nous à améliorer cette page. Informez-nous de toute erreur que vous trouverez.



