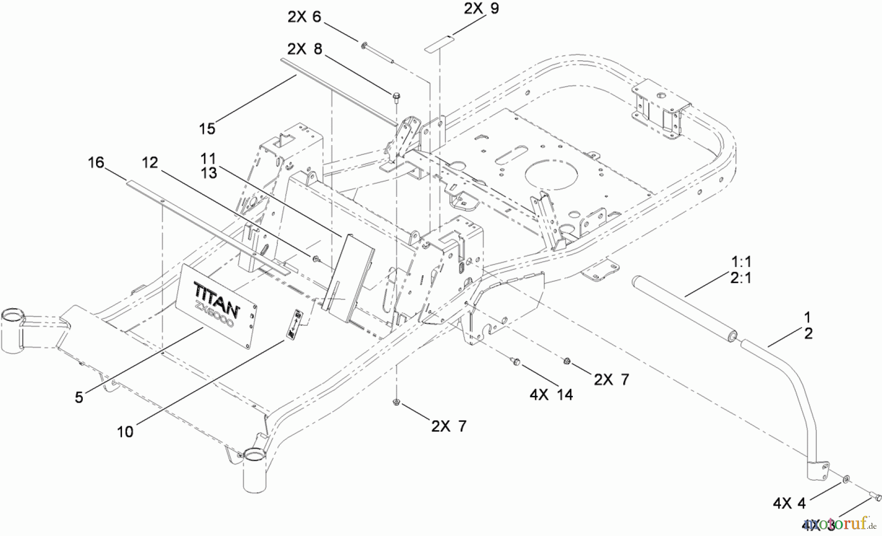
Toro 74823 (ZX6000) - TITAN ZX6000 Zero-Turn-Radius Riding Mower, 2009 (290000001-290999999) HANDLE CONTROL ASSEMBLY Pièces détachées
HANDLE CONTROL ASSEMBLY 74823 (ZX6000) - Toro TITAN ZX6000 Zero-Turn-Radius Riding Mower, 2009 (290000001-290999999)

Vous trouverez ici le dessin de la pièce de rechange pour Toro Neu Mowers, Zero-Turn 74823 (ZX6000) - Toro TITAN ZX6000 Zero-Turn-Radius Riding Mower, 2009 (290000001-290999999) HANDLE CONTROL ASSEMBLY. Sélectionnez la pièce de rechange requise dans la liste des pièces de rechange de votre appareil Toro Neu Mowers, Zero-Turn 74823 (ZX6000) - Toro TITAN ZX6000 Zero-Turn-Radius Riding Mower, 2009 (290000001-290999999) HANDLE CONTROL ASSEMBLY et commandez simplement en ligne. De nombreuses pièces de rechange Toro nous gardons en permanence dans notre entrepôt pour vous.


Gestion de qualité
Aidez-nous à améliorer cette page. Informez-nous de toute erreur que vous trouverez.


