Güde Benzin Anbauwerkzeug KEHRMASCHINE GKM 900 2 IN 1 - 95189 FSL95189-01 Pièces détachées
FSL95189-01 KEHRMASCHINE GKM 900 2 IN 1 - 95189
Valable pour les numéros de série suivants (les 5 premiers chiffres du numéro de série de l'appareil)
58126 58684 59204 59983 60516 60390

Vous trouverez ici le dessin de la pièce de rechange pour Güde Gartentechnik Kombigeräte Benzin Anbauwerkzeug KEHRMASCHINE GKM 900 2 IN 1 - 95189 FSL95189-01 Seite 2. Sélectionnez la pièce de rechange requise dans la liste des pièces de rechange de votre appareil Güde Gartentechnik Kombigeräte Benzin Anbauwerkzeug KEHRMASCHINE GKM 900 2 IN 1 - 95189 FSL95189-01 Seite 2 et commandez simplement en ligne. De nombreuses pièces de rechange Güde nous gardons en permanence dans notre entrepôt pour vous.
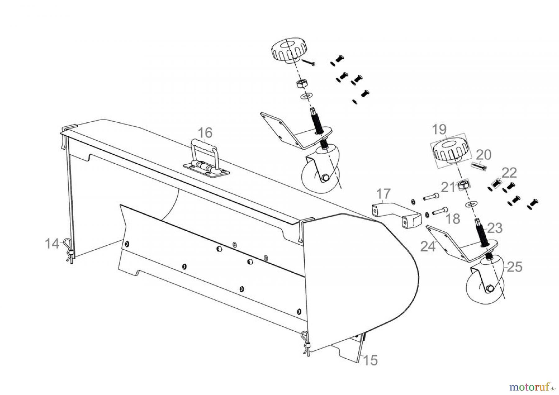
| Pos. | Numéro d'article | Description | |
| 14 | 95189-01014 | STIFT | |
| 15 | 95189-01015 | LIPPE AUFFANGBEHÄLTER | |
| 16 | 95189-01016 | GRIFF BEWEGLICH | |
| 17 | 95189-01017 | GRIFF FEST | |
| 18 | 95189-01018 | SCHRAUBE GRIFF FEST | |
| 19 | 95189-01019 | MUTTER HÖHENVERSTELLUNG | |
| 20 | 95189-01020 | SPLINT | |
| 21 | 95189-01021 | MUTTER RAD | |
| 22 | 95189-01022 | SCHRAUBE RADAUFNAHME | |
| 23 | 95189-01023 | HÖHENVERSTELLUNG | |
| 24 | 95189-01024 | RADAUFNAHME | |
| 25 | 95189-01025 | RAD | |
| Abb. | 95189-01026 | SCHRAUBENSATZ LIPPE AUFFANGBEH. | |



