Wolf-Garten WGI 40 E 4028007 Série A (2002) Capot moteur, Lame, Moteur Pièces détachées
Capot moteur, Lame, Moteur 4028007 Série A (2002)

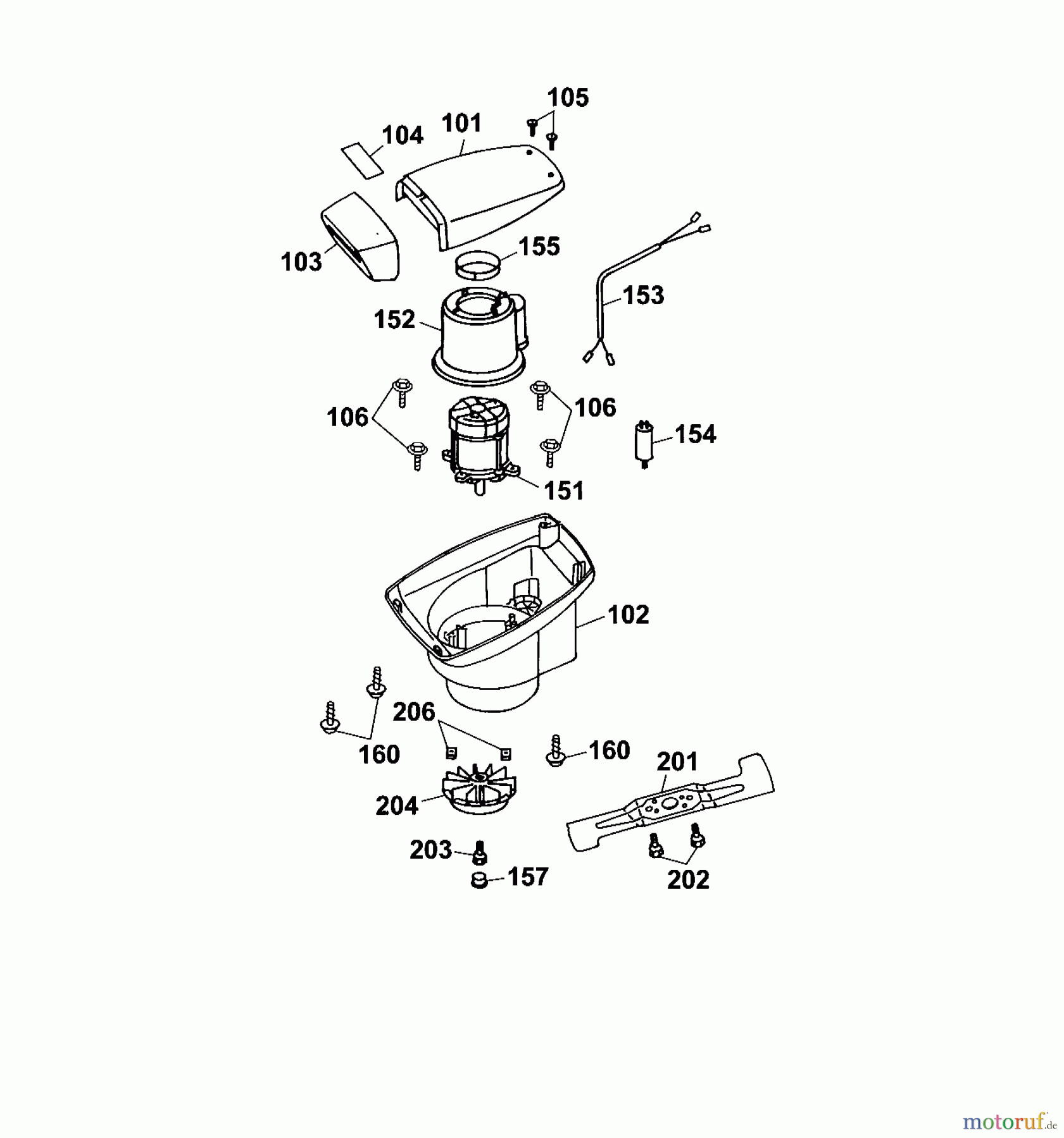
Vous trouverez ici le dessin de la pièce de rechange pour Wolf-Garten Tondeuse électrique WGI 40 E 4028007 Série A (2002) Capot moteur, Lame, Moteur. Sélectionnez la pièce de rechange requise dans la liste des pièces de rechange de votre appareil Wolf-Garten Tondeuse électrique WGI 40 E 4028007 Série A (2002) Capot moteur, Lame, Moteur et commandez simplement en ligne. De nombreuses pièces de rechange Wolf-Garten nous gardons en permanence dans notre entrepôt pour vous.
| Pos. | Numéro d'article | Description | |
| 101 | 4317301 | COUVERCLE MOTEUR 6.43E ROUGE | |
| 102 | 4620300 | SUPPORT MOTEUR ESPRIT-40 | |
| 103 | 4317302 | PCES PLASTIQUE JAUNE 6.43E | |
| 104 | 4028208 | P-ETIKETT WGI 40E | |
| 105 | 0012625 | VIS Sternantrieb | |
| 106 | 0012886 | VIS | |
| 151 | 1140065 | MOTEUR POUR 6.40E / 6.40EA | |
| 152 | 4961306 | DEFLECTEUR AIR | |
| 153 | ![]() | 3567214 | 3567214 |
| 154 | 1133040 | CONDENSATEUR 20 MF. | |
| 155 | 4317305 | ROHRSTÜCK | |
| 157 | 4317308 | 4317308 | |
| 160 | 0012641 | VIS A TOLE 452 | |
| 201 | 4001095 | 4001095 | |
| 202 | 0010385 | BOULON M 8 X 16 | |
| 203 | 0010403 | VIS M8 x 25 | |
| 204 | 4317016 | HELICE POUR 46E | |
| 206 | 0016409 | Écrou 6 pans | |


Gestion de qualité
Aidez-nous à améliorer cette page. Informez-nous de toute erreur que vous trouverez.


