Kawasaki Motoren FG270G-AS00 - Kawasaki FG270G 4-Stroke Engine PISTON/CRANKSHAFT Pièces détachées
PISTON/CRANKSHAFT FG270G-AS00 - Kawasaki FG270G 4-Stroke Engine

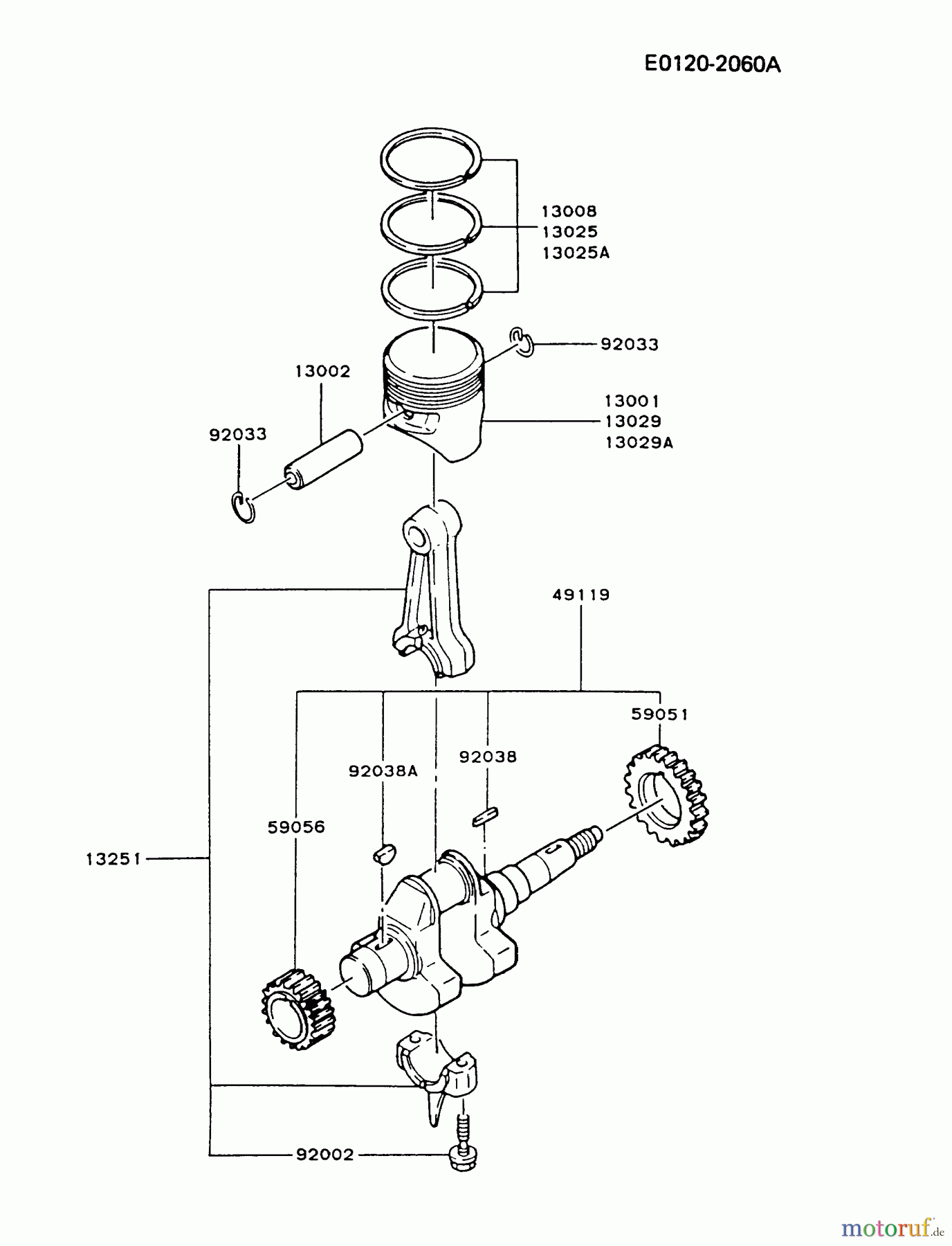
Vous trouverez ici le dessin de la pièce de rechange pour Kawasaki Motoren Motoren, Horizontal FG270G-AS00 - Kawasaki FG270G 4-Stroke Engine PISTON/CRANKSHAFT. Sélectionnez la pièce de rechange requise dans la liste des pièces de rechange de votre appareil Kawasaki Motoren Motoren, Horizontal FG270G-AS00 - Kawasaki FG270G 4-Stroke Engine PISTON/CRANKSHAFT et commandez simplement en ligne. De nombreuses pièces de rechange Kawasaki Motoren nous gardons en permanence dans notre entrepôt pour vous.
| Pos. | Numéro d'article | Description | |
| 13001 | KA130012053 | KOLBEN STANDARD | |
| 13002 | KA130022068 | KOLBENBOLZEN | |
| 13008 | KA130086036 | KOLBENRINGSATZ STD | |
| 13025 | KA130252069 | KOLBENRING-SATZ | |
| 13025A | KA130252070 | KOLBENRING-SATZ | |
| 13029 | KA130292073 | KOLBEN | |
| 13029A | KA130292074 | KOLBEN | |
| 13251 | KA132516028 | ROD-ASSY-CONNECTING | |
| 49119 | KA491196066 | CRANKSHAFT-ASSY | |
| 59051 | KA590512054 | GEAR-SPUR | |
| 59056 | KA590562010 | GEAR-HELICAL | |
| 92002 | KA920022056 | SCHRAUBE | |
| 92033 | KA920332053 | SPRENGRING | |
| 92038 | KA920382051 | KEIL | |
| 92038A | ![]() | KA920382077 | KEY |


Gestion de qualité
Aidez-nous à améliorer cette page. Informez-nous de toute erreur que vous trouverez.


