retour à
>
Roth / TORO
>
Ride-On Mowers
>
Traktor
>
520 Lxi
>
521/73546
>
8900001
>
Carburetor Assy.
Listes de pièces de rechange pour Toro Roth / TORO Carburetor Assy.
pos.
description
Numéro de référence
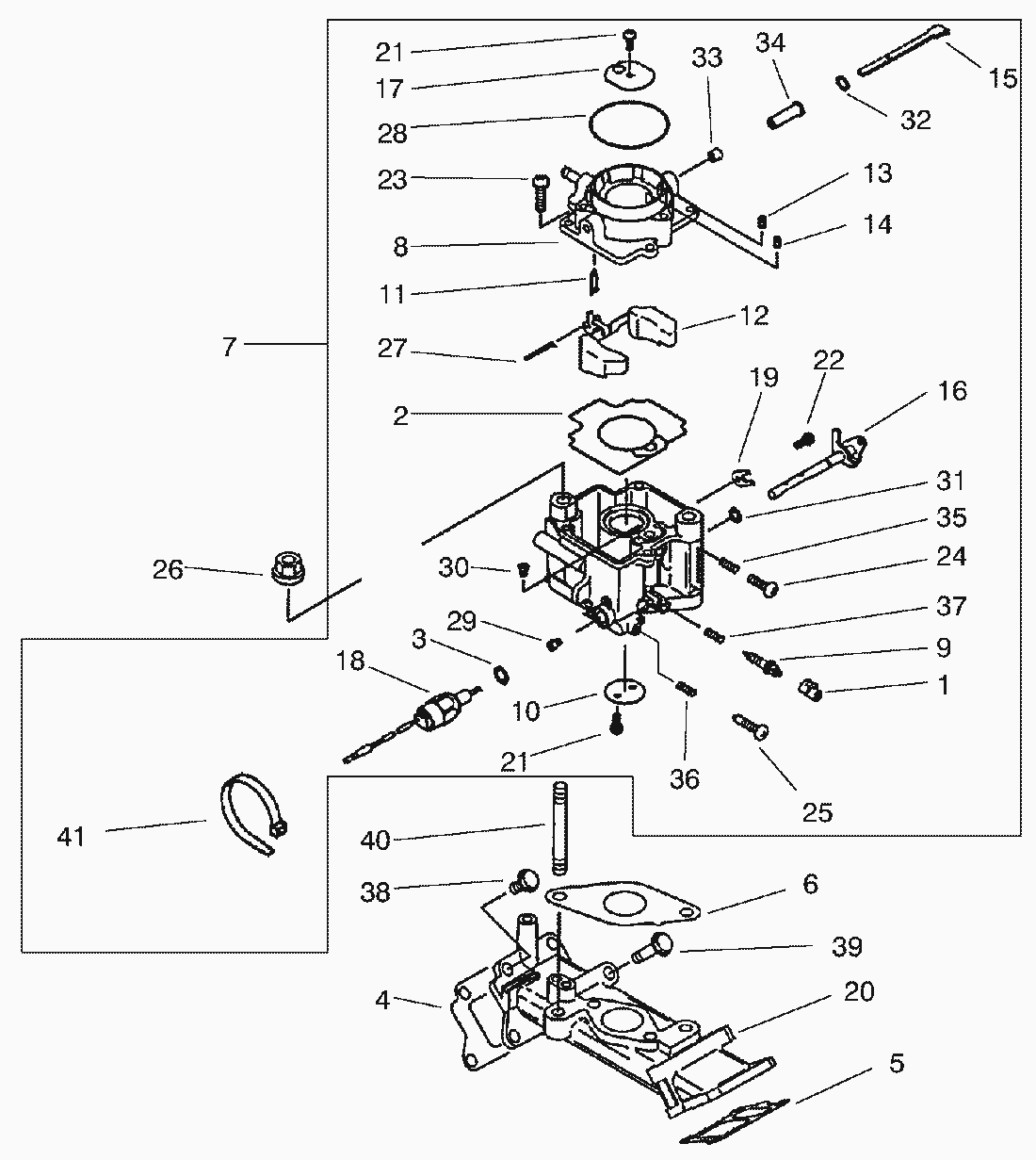
1
Cap
95-9857
2
Gasket
95-9858
3
Gasket
95-9859
4
Gasket
95-9860
5
Gasket
95-9861
6
Gasket
95-9862
7
Carburetor ASM
98-7366
8
Cap-Chamber
95-9864
9
Screw-Pilotair
95-9865
10
Valve-Throttle
95-9866
11
Valve-Float
95-9867
12
Float
95-9868
13
Jet-Air
95-9869
14
Jet-Air
95-9870
15
Shaft-Carburetor
95-9871
16
Shaft-Carb.
98-7367
17
Valve
95-9873
18
Solenoid
95-9874
19
Stopper
95-9875
20
Manifold-Intake
95-9876
21
Screw
95-9877
22
Screw
95-9878
23
Screw
95-9879
24
Screw
95-9880
25
Screw
95-9881
26
Nut
Kw10621
27
Pin
95-9883
28
O-Ring
95-9972
29
Jet-Main
95-9884
30
Jet-Pilot
95-9885
31
Seal
95-9886
32
Seal
95-9887
33
Collar
95-9888
34
Collar
95-9889
35
Spring
95-9890
36
Spring
95-9891
37
Spring
95-9892
38
Bolt-Flanged
95-9893
39
Bolt-Flanged
95-9894
40
Bolt-Stud
95-9895
41
Clamp
98-7368
Toro
Roth / TORO
Ride-On Mowers
Traktor
264-6
246 HE
244-5
212-H
212-5
17-44 HXLE
16-44 HXL
16-38 HXL
16-38 XLE
15-44 HXL
15-38 HXL
14-38 HXL
14-38 XL
13-38 HXL
13-38 XL
13-32 XLE
12-38 HXL
12-38 XL
12-32 XL
264 H
265 H
267 H
268 H
270 H
520 xi
520 Lxi
521/73546
8900001
Bumper and Hood Assy.
Steering Tower and Fuel Tank Assy.
Attach A Matic and Hitch Assy.
Lower Power Steering Assy.
Power Steering and Tilt Assy.
Tie Rods, Spindle & Front Axle Assy.
Hydro Transaxle Assy.
Hydro Transaxle Assy. (Cont.)
Drive Shaft Assy.
Hydro Lift Lower Assy.
Hydro Lift Upper Assy.
Hood & HeadLight Assy.
Grill and Side Panel Assy.
Dash Assy.
Fender, Footrest and Seat Assy.
Fender, Footrest and Seat Assy. (Cont.)
Smart Turn Rear Assy.
Hi-Lo Shift Assy.
Upper Parking Brake Assy.
Hydro Controls Assy.
Smart Turn Front Assy.
Lower Parking Brake Assy.
Cruise Control Assy.
Fender and Fuel System Assy.
Wheel Assy.
Liquid Cooled GAS Engine Assy.
Liquid Cooled GAS Engine Assy. (Cont.)
Electrical Assy.
Transmission Assy.
Crankcase Assy.
Piston & Crankshaft Assy.
Valve/Camshaft Assy.
Oil Pump & Filter Assy.
Water Pump Assy.
Electrical Components
Governor Assy.
Carburetor Assy.
Air Cleaner Assy.
Fuel Pump & Filter Assy.
Starter Assy.
521/73580
523 Dxi
Rider
Mower decks
Attachements
Hand operated
Robin
Conditions générales de vente
(C) by motoruf