retour à
>
Roth / TORO
>
Ride-On Mowers
>
Traktor
>
520 Lxi
>
521/73546
>
8900001
>
Governor Assy.
Listes de pièces de rechange pour Toro Roth / TORO Governor Assy.
pos.
description
Numéro de référence
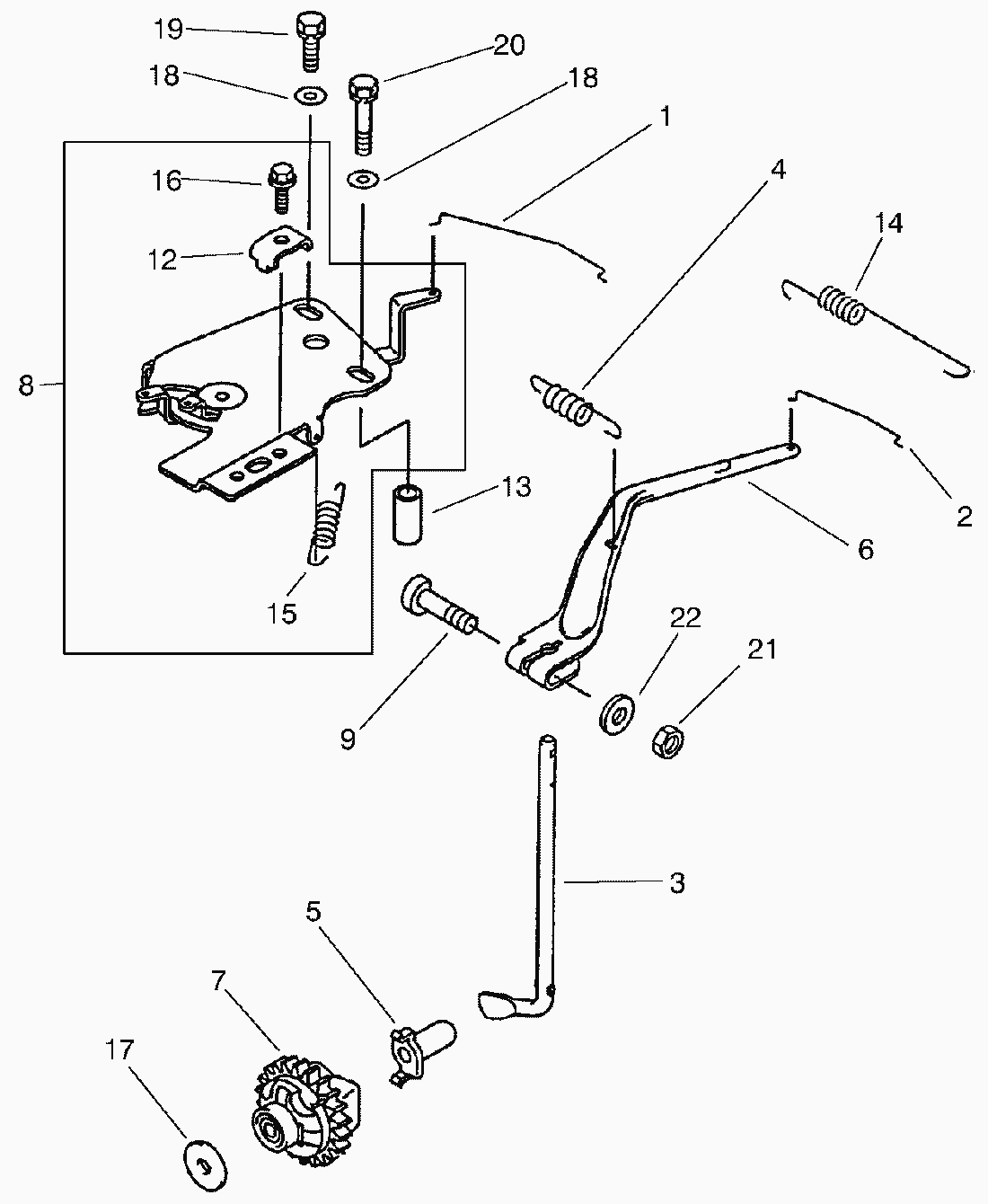
1
Link-Choke
95-9840
2
Link
95-9841
3
Arm-Pivot
98-7362
4
Spring-Governor
98-7363
5
Sleeve
Kw10140
6
Arm-Governor
98-7364
7
Governor ASM
98-7365
8
Panel-Comp-Control
95-9846
9
Bolt
93-8606
12
Clamp
95-9849
13
Collar
95-9850
14
Spring
95-9851
15
Spring
95-9852
16
Bolt (Only On: 73545)
95-9853
16
Screw-Sternantrieb (Only On: 73546)
98-7374
17
Washer
93-8612
18
Washer
95-9854
19
Bolt-Upset-Ws
95-9855
20
Bolt-Upset-Ws
95-9856
21
Nut-Hex
Kw10101
22
Washer
93-8645
Toro
Roth / TORO
Ride-On Mowers
Traktor
264-6
246 HE
244-5
212-H
212-5
17-44 HXLE
16-44 HXL
16-38 HXL
16-38 XLE
15-44 HXL
15-38 HXL
14-38 HXL
14-38 XL
13-38 HXL
13-38 XL
13-32 XLE
12-38 HXL
12-38 XL
12-32 XL
264 H
265 H
267 H
268 H
270 H
520 xi
520 Lxi
521/73546
8900001
Bumper and Hood Assy.
Steering Tower and Fuel Tank Assy.
Attach A Matic and Hitch Assy.
Lower Power Steering Assy.
Power Steering and Tilt Assy.
Tie Rods, Spindle & Front Axle Assy.
Hydro Transaxle Assy.
Hydro Transaxle Assy. (Cont.)
Drive Shaft Assy.
Hydro Lift Lower Assy.
Hydro Lift Upper Assy.
Hood & HeadLight Assy.
Grill and Side Panel Assy.
Dash Assy.
Fender, Footrest and Seat Assy.
Fender, Footrest and Seat Assy. (Cont.)
Smart Turn Rear Assy.
Hi-Lo Shift Assy.
Upper Parking Brake Assy.
Hydro Controls Assy.
Smart Turn Front Assy.
Lower Parking Brake Assy.
Cruise Control Assy.
Fender and Fuel System Assy.
Wheel Assy.
Liquid Cooled GAS Engine Assy.
Liquid Cooled GAS Engine Assy. (Cont.)
Electrical Assy.
Transmission Assy.
Crankcase Assy.
Piston & Crankshaft Assy.
Valve/Camshaft Assy.
Oil Pump & Filter Assy.
Water Pump Assy.
Electrical Components
Governor Assy.
Carburetor Assy.
Air Cleaner Assy.
Fuel Pump & Filter Assy.
Starter Assy.
521/73580
523 Dxi
Rider
Mower decks
Attachements
Hand operated
Robin
Conditions générales de vente
(C) by motoruf